Allegro MicroSystems ACS71240 Stromsensor-ICs
Allegro MicroSystems ACS71240 galvanisch isolierte Stromsensor-ICs bieten Ersatz für Nebenanschluss-Widerstände, Operationsverstärker, Stromwandler und Spannungsisolatoren in Rechenzentrumsanwendungen, die monolithische Sensorlösungen mit kleinem Formfaktor erfordern. Die vollintegrierten Lösungen des ACS71240 reduzieren die Gesamtkosten der Strommessung, indem diskrete Komponenten eliminiert werden, die Leiterplattenfläche benötigen.Die ACS71240 monolithischen Hall-Effekt-Stromsensor-ICs von Allegro bieten eine Ausgangssignalimmunität gegen Streumagnetfelder, eine verbesserte Ausgangssignalgenauigkeit (<+/-1,5% typisch), sowie eine Ausgangssignalimmunität gegen rauschende Versorgungsspannungsschienen. Das Gerät verfügt darüber hinaus über einen dedizierten schnellen Überstromfehlerausgang mit einer typischen Reaktionszeit von 1,5 us. Dieser schnelle Fehlerausgang bietet ein einfaches Mittel zur Erkennung von Kurzschlussereignissen, um MOSFET- oder IGBT-Schäden in Wechselrichtern, Motoren oder anderen leistungselektronischen Schaltanwendungen zu verhindern.
Die Stromsensor-ICs ACS71240 von Allegro Microsystems sind in zwei Gehäuseoptionen mit sehr kleinem Formfaktor erhältlich, die jeweils unterschiedliche Stufen der galvanischen Trennung bieten. Das winzige 3 mm x 3 mm große QFN-Gehäuse mit benetzbaren Flanken kann auf Spannungsschienen bis zu 120 VDC verwendet werden und ermöglicht die Inspektion von Lötstellen, die in Null-PPM-Automobilanwendungen erforderlich ist. Das SOIC8-Gehäuse mit Standard-Footprint ist UL-zertifiziert für eine Isolierung von 2400VRMS und bietet eine Betriebsspannung von 420VDC oder 297VRMS.
Merkmale
- AEC-Q100 zertifiziert
- Differential-Hall-Sensorik unterdrückt Gleichtakt-Streu-Magnetfelder
- Überstrom-Defekt mit einem werkseitig programmierbaren Auslösebereich von 50% bis 200% des Volllaststroms.
- Nicht-ratiometrischer Ausgang bietet Immunität gegenüber einer verrauschten Stromversorgung
- Galvanisch Isoliert:
- QFN-Gehäuse mit 120VDC Betriebsspannung
- SOIC8-Gehäuse mit UL-Zertifizierung bis 2400VRMS, Betriebsspannung von 420VDC oder 297VRMS
- Geringerer Leistungsverlust:
- 0,6mΩ interner Leiter-Widerstand auf einem QFN-Gehäuse
- 1,2mΩ interner Leiter-Widerstand auf einem SOIC8-Gehäuse
- Die integrierte Abschirmung eliminiert praktisch die kapazitive Kopplung zwischen Stromleiter und Die und unterdrückt dadurch das Ausgangsrauschen erheblich auf Grund eines hohen dv/dt-Übergangs.
- Ausgangsspannung proportional zum AC- oder DC-Strom
- Analogausgang mit hoher Bandbreite (120kHz) für schnellere Reaktionszeiten bei Steuerungsanwendungen
- Werkseitig eingestellte Empfindlichkeit und Ausgangsspannung im Ruhezustand für eine verbesserte Genauigkeit
- 3,3V und 5V Betrieb mit einer einzigen Versorgungsspannung
- QFN- und SOIC8-Gehäuse mit einem kleinen Footprint und einem niedrigem Profil, geeignet für Applikationen mit einem begrenzten Platzangebot
Videos
Typische Applikation
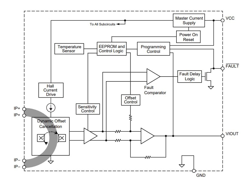
Blockdiagramm
