ams OSRAM AS1163 und AS1163B Automotive-LED-Treiber-ICs
Die AS1163 und AS1163B Automotive-LED-Treiber-ICs von Ams OSRAM sind Mischsignal-Silizium-Bauteile, die für dynamische Beleuchtungsapplikationen optimiert sind. Diese ICs unterstützen schlanke Einschicht-PCB-designs und ein offenes System-Protokoll (OSP), wodurch sie mit OSIRE E3731i kompatibel sind. Die AS1163 und AS1163B LED-Treiber-ICs verfügen über eine 2.4Mbit/s Zweidraht-Verkettung (bidirektional oder loop-back) oder eine Sterntopologie, bis zu 1000 Knoten und eine 16-bit-Helligkeitseinstellung. Die zusätzlichen Funktionen umfassen ein I2C-gateway, eine Parallelverbindung, eine Stromschienen-Rückkopplung und eine analoge Auslesung. Diese Bauteile werden in dynamischen Innenbeleuchtungseffekten, Umgebungsbeleuchtung, Funktionsbeleuchtung, Außenbeleuchtung, Dachbeleuchtung und smart-Oberflächen verwendet.Der AS1163 SAID IC steuert 9 LEDs an, die in 3-Kanal-triplets (RGB) mit einem unabhängigen PWM-Verdunkelungs-Dynamikbereich von bis zu 16-bit montiert sind. Der AS1163B SAID2 IC steuert 6 LEDs an, die in 2-Kanal-triplets (RGB) mit einem unabhängigen PWM-Dimmdynamikbereich von bis zu 16-bit organisiert sind. Die Schutzfunktionen umfassen offene/Kurzschluss-/Kommunikationsdiagnose und Überspannungs-/Übertemperaturschutz.
Merkmale
- 2.4Mbit/s Zweidraht-Verkettung (bidirektional oder loop-back) oder Sterntopologie
- Offener/Kurzschluss/Kommunikationsdiagnose und Überspannungs-/Übertemperaturschutz
- Bis zu 1000 Knoten
- Kompatibel mit OSIRE E3731i in Verkettung
- Ausgangscluster (bis zu 288 mA)
- Helligkeitseinstellung (16-bit)
- Anti-Flimmer-Dithering
- Schmale/einlagige PCB
- Zweidraht-SPI-Verbindung mit MCU
- AS1163 (soeben):
- 3 x RGB-LEDs (48 mA, 24 mA und 24 mA)
- 2 x RGB-LEDs+I2C
- 9 x einfarbige LEDs
- AS1163B (SAID2):
- 2 x RGB-LEDs (48 mA, 48 mA und 48 mA)
- 1 x RGB-LEDs+I2C
- 6 x einfarbige LEDs
Applikationen
- Dynamischer Innenbeleuchtungseffekt
- Umgebungsbeleuchtung
- Funktionsbeleuchtung
- Außenbeleuchtung
- Dachbeleuchtung
- Smart-Oberfläche
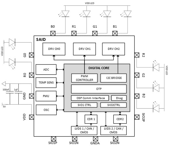
AS1163 (gesagt) Blockdiagramm
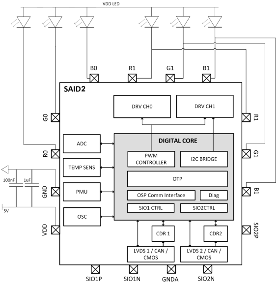
AS1163B (SAID2) Blockdiagramm
Veröffentlichungsdatum: 2025-02-18
| Aktualisiert: 2025-03-11
