ams OSRAM AS5070 Magnetische On-Axis-Winkelpositionssensoren
Die magnetischen On-Axis-Winkelpositionssensoren AS5070 von ams OSRAM sind hochauflösende magnetische Drehstellungssensoren auf Hall-Basis, die die CMOS-Technologie nutzen und präzise absolute Winkelmessungen ermöglichen. Der AS5070 ist mit einer analogen Ausgangsschnittstelle (AS5070A) oder einer digitalen Ausgangsschnittstelle (AS5070B) erhältlich. Der AS5070B kann als PWM- oder SENT-konforme Ausgangsschnittstelle programmiert werden. Diese Sensoren messen die orthogonale Komponente der Flussdichte (Bz) über eine volle Umdrehung und kompensieren externe magnetische Streufelder mit einer robusten Architektur, die auf einem 14-Bit-Sensorarray und einem analogen Front-End (AFE) basiert. Ein Teilbereich kann programmiert werden, um eine ideale Applikationsauflösung zu erreichen.Zur Messung des Winkels ist ein einfacher zweipoliger Magnet erforderlich, der sich über der Mitte des Gehäuses dreht. Der Magnet kann oberhalb oder unterhalb des Bauteils angebracht werden. Die absolute Winkelmessung bietet eine sofortige Anzeige der Winkelposition des Magneten. Der AS5070 arbeitet mit einer Versorgungsspannung von 5 V, und die Versorgungs- und Ausgangspins sind gegen Überspannungen bis zu +20 V geschützt. Darüber hinaus sind die Versorgungspins gegen Verpolung bis zu -20 V geschützt.
Merkmale
- Hall-basierter magnetischer Drehpositionssensor in CMOS-Technologie
- Löst kleine Winkelausschläge mit hoher Genauigkeit auf
- 12-Bit-Auflösung bei 90° Mindestbogen
- Geringes Ausgangsrauschen, geringe inhärente INL
- Störfestigkeit gegen magnetische Streufelder
- Programmierbarer Ausgang
- CORDIC-Block (Koordinaten-Rotations-Digitalrechner)
- Lange Lebensdauer und niedrige Systemkosten
- Embedded Linearisierungsalgorithmus
- 3x Ausgangsschnittstellen
- Analoge Ratiometrik (AS5070A)
- Digitale PWM (AS5070B)
- GESENDET (AS5070B)
Applikationen
- Rotationsknopf-Winkelsensoren
- Systeme zur Messung von Flüssigkeitsständen
- Kontaktlose Potentiometer
Technische Daten
- Betriebstemperatur
- Versorgungsspannungsbereich: 4,5 V bis 5,5 V
- Geregelter Spannungsbereich: 3,3 V bis 3,6 V
- Versorgungsstrombereich
- 4 mA bis 12 mA für den AS5070A
- 4 mA bis 10 mA für den AS5070B
- 2,5 mA bis 10 mA Anlauf-Versorgungsstrom bei 2,25 V
- 10 ms Startzeit
- Elektrische Daten
- 14-Bit-Core-Auflösung
- 12-Bit-analoge (AS5070A) und -digitale (AS5070B) Auflösung
- ±0,5° bis ±0,9° integraler Nichtlinearitätsbereich (optimal)
- ±1,4° integrale Nichtlinearität
- Typische Abtastzeit: 125 µs
- Magnet
- Orthogonale Magnetfeldstärke
- Bereich 30 mT bis 70 mT
- 10 mT bis 90 mT im erweiterten Modus
- Typischer Verdrängungsradius: 0,5 mm
- Orthogonale Magnetfeldstärke
- Energieverwaltung, Versorgungsüberwachung und Zeitsteuerung
- Unterspannungsschwellenwerte
- Oberer Bereich: 3,5 VDD bis 4,5 VDD
- Unterer Bereich: 3,0 VDD bis 4,0 VDD
- 300 mV bis 900 mV Unterspannungshysterese, 500 mV typisch
- 10 µs bis 250 µs Unterspannungserkennung/Wiederherstellungszeit, 50 µs typisch
- Überspannungsschwellenwert
- Oberer Bereich: 6,0 V bis 7,0 V
- 5,5 V bis 6,5 V niedrigerer Bereich
- Überspannungshysteresebereich: 300 V bis 900 V, typisch 500 V
- 500 µs bis 2000 µs Überspannungserkennung/Wiederherstellungszeitbereich
- 12 ms maximale WatchDog-Fehlererkennungszeit
- Unterspannungsschwellenwerte
AS5070A Blockdiagramm
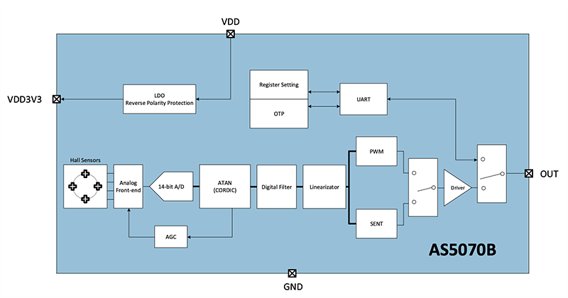
AS5070B Blockdiagramm
Veröffentlichungsdatum: 2022-02-24
| Aktualisiert: 2022-03-14
