Analog Devices Inc. AD4170 Rauscharmer Präzisions-SigmaDelta-ADC
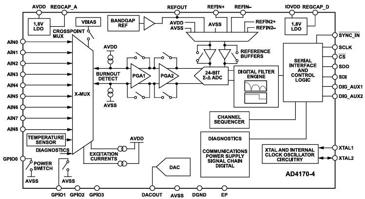
Der Analog Devices Inc. AD4170 rauscharme Präzisions-SigmaDelta-ADC ist für Präzisionsmessapplikationen und verfügt über eine Eingangsbandbreite von DC bis 50 kHz. Der AD4170 von Analog Devices Inc. verfügt über einen 24-Bit- Σ-Δ -ADC und unterstützt Ausgangsdatenraten von 7,6 S/s bis 500 kS/s. Er kann für vier differentielle oder acht einendige/Pseudo-Differential-Eingänge konfiguriert werden und enthält eine rauscharme On-Chip-Verstärkungsstufe für die direkte Anbindung an Signale mit kleiner Amplitude.Merkmale
- Präzise AC- und DC-Leistung
- Rauschen RTI 5,5 nV/√Hz (Gain = 128)
- ±0,5 ppm von FSR INL
- SNR von 110 dB typisch (VREF = 4,096 V, Gain = 1 vorladen, sinc5-Filter)
- Typischer Klirrfaktor von -120 dB
- Multiplex-Analogeingänge mit Koppelpunkt
- Vier differentielle/acht pseudodifferentielle Eingänge
- Überspannungs-/Unterspannungstoleranz bei inaktiven Analogeingängen
- Kanal-Scan-Datenrate von 71,4 kS/s/Kanal (14 µs Einschwingzeit)
- Ultra-rauscharmer integrierter PGA, Gains von 0,5 bis 128
- Ausgangsdatenrate: 7,6 S/s bis 500 kS/s
- Flexible digitale Filter
- ±0,005 dB maximale Welligkeit im Durchlassbereich geringe Welligkeit FIR
- Benutzerprogrammierbare FIR-Filteroptionen
- Sinc-Filter mit niedriger Latenzzeit
- Simultane Unterdrückung von 50Hz/60Hz
- Bandlückenreferenz mit einer Drift von 5 ppm/°C (typisch)
- Interner Oszillator und Temperatursensor
- Analoge Stromversorgung: 4,75 V bis 5,25 V oder ±2,5 V
- Digitale Stromversorgung: 1,7 V bis 5,25 V
- Abgestimmte, programmierbare Erregungsstromquellen
- Low-Side-Leistungsschalter
- AC-Erregung
- On-Chip-Generator für die Vorspannung
- Vier Universal-Ein/-Ausgänge
- Interne und System-Kalibrierung
- Sensor-Burnout-Erkennung
- Diagnosefunktionen
- Konfiguration pro Kanal
- Flexibler Kanal-Sequenzer
- Serielle 3- oder 4-Draht-Schnittstelle
- Schmitt-Trigger auf SCLK
- SPI, QSPI MICROWIRE und DSP kompatibel
- TDM-kompatible Schnittstelle für Daten-Streaming
- Leistungstemperaturbereich: -40 °C bis +105 °C
- Funktionaler Temperaturbereich: -40 °C bis +125 °C
- 32-Pin-LFCSP-Gehäuse von 4 mm × 6 mm
Applikationen
- Industrie-Prozesssteuerung: SPS-/DCS-Module
- Messung von Temperatur und Druck
- Hochpräzise medizinische und wissenschaftliche Instrumente
- Chromatografie
- Seismik- und Energieexploration
- Elektrische Prüfung und Messung
- Akustische Analyse
- Messgeräte
- Waagschalen
BLOCKDIAGRAMM
Veröffentlichungsdatum: 2024-12-05
| Aktualisiert: 2024-12-09
