Analog Devices Inc. AD4195-4 Präzisions-Sigma-Delta-ADCs mit geringem Rauschanteil
Die rauscharmen Präzisions-Sigma-Delta-ADCs AD4195-4 von Analog Devices Inc. sind vollständig integrierte, rauscharme analoge Frontends mit mehreren Kanälen für hochpräzise Messungsapplikationen. Diese Bauteile mit 62,5 kSPS umfassen einen rauscharmen 24-Bit-Σ-Δ-Analog-Digital-Wechselrichter (ADC) und können so konfiguriert werden, dass sie über vier differentielle oder acht unsymmetrische oder pseudodifferentielle Eingänge verfügen. Das Bauteil AD4195-4 von ADI verfügt über fortschrittliche digitale Filterung und eine programmierbare Gain, die eine flexible Signalkonditionierung für eine große Auswahl von Sensoren und Eingangstypen ermöglichen.Die Architektur umfasst integrierte Referenz- und Diagnosefunktionen, die die Systementwicklung vereinfachen und gleichzeitig ein robustes Betriebsverhalten gewährleisten. Mit geringem Stromverbrauch und mehreren Betriebsmodi ist das Gerät für energieeffiziente Systeme optimiert. Die Kommunikation wird über eine standardmäßige SPI-Schnittstelle unterstützt, um eine nahtlose Integration in mikrocontrollerbasierte Plattformen zu gewährleisten. Ideal für Industrieautomatisierung, medizinische Instrumente, Waagen und andere Präzisionssysteme – das Bauteil AD4195-4 kombiniert eine hohe Auflösung, ein geringes Rauschverhalten und Zuverlässigkeit für kritische Applikationen.
Merkmale
- Eingangsbezogenes Rauschen: 10 nV bei 3,8 SPS, 128-fache Verstärkung
- Kreuzpunktmultiplexierte analoge Eingänge
- 4x Differenz-/8x Pseudodifferenz-Eingänge
- Integrierter PGA mit extrem geringem Rauschen, Verstärkungsbereich von 0,5 bis 128
- Ausgangsdatenrate: 3,8 SPS – 62,5 kSPS
- Flexible digitale Filter
- Sinc-Filter mit geringer Latenz
- Simultane Unterdrückung von 50Hz/60Hz
- Bandlückenreferenz mit typischer Drift von 5 ppm/°C
- Interner Oszillator
- Netzteile
- analog: 4,75 V – 5,25 V oder ±2,5 V
- digital: 1,7 V – 5,25 V
- Abgestimmte programmierbare Erregungsstromquellen
- Low-Side-Leistungsschalter
- On-Chip-Vorspannungsgenerator
- Interner Temperatursensor
- 4x universell einsetzbare Ein- und Ausgänge
- Interne und System-Kalibrierung
- Sensor-Burnout-Erkennung
- Diagnosefunktionen
- Konfiguration einzelner Kanäle
- Flexibler automatischer Kanalsequenzer
- 3- oder 4-Draht-Seriellschnittstelle (Schmitt-Trigger auf SCLK) – SPI-, QSPI-, MICROWIRE- und DSP-kompatibel
- TDM-kompatible Schnittstelle für Datenstreaming
- Temperaturbereiche
- -40 °C – +105 °C, optimal für Höchstleistungen
- -40 °C – +125 °C, funktionsfähig
- 32-poliges LFCSP-Gehäuse, 4 mm x 6 mm
- Feuchteempfindlichkeit (MSL) 3
Applikationen
- Industrie-Prozesssteuerung (SPS-/DCS-Module)
- Temperaturmessung
- Druckmessung
- Messgeräte für Medizin und Wissenschaft
- Chromatografie
- Umgebungsüberwachung
- Elektrische Prüfung und Messung
- Messgeräte
- Waagschalen
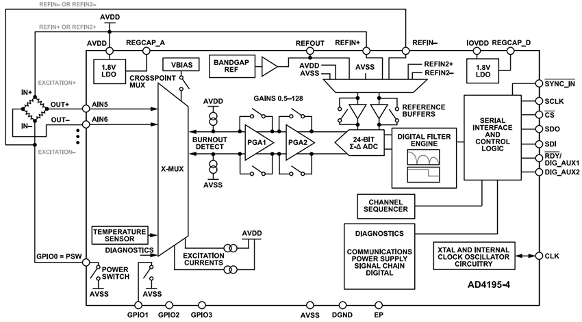
Blockdiagramm
Applikations-Schaltung für Waagen
3-Draht-RTD-Applikations-Schaltung
Veröffentlichungsdatum: 2025-12-01
| Aktualisiert: 2026-01-22
