Analog Devices Inc. AD7401 Isolierte Sigma-Delta-Modulatoren
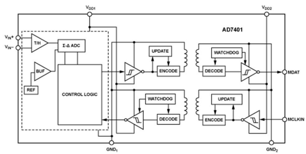
Analog Devices Inc. AD7401 Isolierte Sigma-Delta-Modulatoren wandeln mit einer digitalen On-Chip-Isolierung analoge Eingangssignale in einen 1-Bit-Hochgeschwindigkeits-Datenstrom um, die auf der iCoupler® Technologie von ADI beruht. Der AD7401 ist ein Sigma-Delta-Modulator zweiter Ordnung, der mit einer 5 V-Energieversorgung arbeitet und ein differentielles Eingangssignal von ±200 mV (±320 mV Skalenendwert) akzeptiert. Der analoge Eingang wird durchgängig vom analogen Modulator abgetastet, wodurch die Notwendigkeit für externe Abtast-Halte-Schaltungen entfällt. Die Eingangsinformation befindet sich im Ausgabestrom als Dichte von eins mit einer Datenrate von bis zu 20 MHz. Die ursprünglichen Informationen können mit einem geeigneten digitalen Filter rekonstruiert werden. Der serielle Eingang/Ausgang kann eine 5V- oder 3V-Versorgung (VDD2) verwenden.Die serielle Schnittstelle ist digital isoliert. Der Hochgeschwindigkeits-CMOS mit monolithischer Luftkern-Transformator-Technologie ermöglicht eine On-Chip-Isolierung, um hervorragende Leistungsmerkmale zu bieten, die den Alternativen, wie z. B. Optokopplern überlegen sind. Das Bauteil enthält eine On-Chip-Referenz. Der AD7401 ist im 20-adrigen-SOIC-Gehäuse verfügbar und hat einen Betriebstemperaturbereich von -40 °C bis +105 °C.
Eine Version mit internem Takt AD7400 ist ebenfalls erhältlich.
Merkmale
- 20 MHz maximale externe Taktrate
- Modulator zweiter Ordnung
- 16-Bit, keine fehlenden Codes
- ±2 LSB INL (typisch) bei 16-Bit
- 3,5 μV/°C maximaler Offset-Drift
- Integrierter Digitalisolator
- Integrierte Referenz
- Stromsparender Betrieb: 20 mA maximal bei 5,25 V
- Betriebstemperaturbereich von -40 °C bis 105 °C
- 16-adriges SOIC-Gehäuse
- Sicherheitszertifizierungen und behördliche Genehmigungen
- Siehe Datenblatt für zusätzliche Merkmale
Applikationen
- AC-Motorsteuerungen
- Datenerfassungssysteme
- Ersatz für A/D und Opto-Isolatoren
Blockdiagramm
Veröffentlichungsdatum: 2018-04-03
| Aktualisiert: 2023-01-27
