Analog Devices Inc. ADAQ23876 16-Bit-Datenerfassungslösung
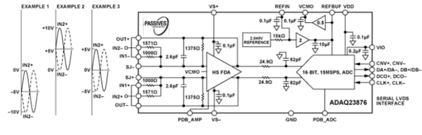
Die ADAQ23876 16-Bit-Datenerfassungslösung von Analog Devices ist ein präzises Hochgeschwindigkeits-μModule®, das den Entwicklungszyklus von Präzisionsmesssystemen reduziert. Mit der System-in-Package-Technologie (SIP) reduziert der ADAQ23876 die Anzahl der Endsystem-Komponenten, durch Kombination gängiger Signalverarbeitungs- und Konditionierungsblöcke in einem einzigen Bauteil. Darüber hinaus enthält der ADAQ23876 kritische Passive Bauelemente mit hervorragenden Anpassungs- und Drift-Eigenschaften. Diese Datenerfassungs-ADCs/DACs verfügen über eine serielle Low Voltage Differential Signaling (LVDS) -Digitalschnittstelle mit ein- oder zweikanaligen Ausgangsmodi. Der ADAQ23876 arbeitet in einem Temperaturbereich von -40 °C bis 85 °C. Zu den typischen Applikationen gehören automatische Testanlagen, Datenerfassung, Hardware-in-Loop (HiL), Leistungsanalysatoren und zerstörungsfreie Tests (akustische Emissionen).Merkmale
- Integrierter volldifferenzieller ADC-Treiber mit Signalskalierung
- Großer Gleichtakt-Eingangsspannungsbereich
- Hohe Gleichtaktunterdrückung
- Einendige zu differenzielle Wandlung
- Pin-wählbarer Eingangsbereich mit Überbereich
- Eingangsbereiche mit 4,096 V REFBUF: ±10 V, ±5 V, ±4,096 V, ±2,5 V und ±1,5 V
- Verstärkungs-/Dämpfungsoptionen: 0.37, 0.73, 0.87, 1.38, und 2.2
- Kritische passive Bauelemente
- Präzisions-angepasstes Widerstandsarray für FDA von 0,005 %
- 9 mm x 9 mm, 0,8 mm Rastermaß, 100-Ball CSP_BGA-Gehäuse
- 2,5 × Footprint-Reduzierung gegenüber diskreter Lösung
- Geringer Stromverbrauch, dynamische Leistungsskalierung und Abschaltmodus
- 143 mW typisch bei 15 MSPS
- Durchsatz: 15 MSPS, keine Pipeline-Verzögerung
- INL-Fehler: ±7,5 ppm typisch, ±15 ppm maximal
- (Gain = 0,73, Gain = 0,87, Gain = 1,38, und Gain = 2,25)
- SINAD: 90 dB typisch bei 1 kHz (Gain = 0,37 und Gain = 0,73)
- THD: -121 dB bei 1kHz, -112 dB bei 100kHz (Verstärkung = 0,73)
- Gain-Fehler: ±0,005 %FS typical
- Gain-Fehlerdrift: ±0,11 ppm/°C typisch
- On-Board-Referenzbuffer mit VCMO-Generierung
- Serielle LVDS-Schnittstelle
- Großer Betriebstemperaturbereich: -40 °C bis +85 °C
Applikationen
- Automatische Testsysteme
- Datenerfassung
- Hardware in der Schleife (HiL)
- Leistungsanalysatoren
- Zerstörungsfreie Prüfung (akustische Emissionen)
- Massenspektrometer
- Wanderfeld-Fehlerstelle
- Medizinische Bildgebung und Instrumente
Blockdiagramm
Veröffentlichungsdatum: 2022-04-21
| Aktualisiert: 2025-02-21
