Analog Devices Inc. ADE9000 AFEs

Analog Devices ADE9000 Analog-Frontends (AFEs) sind vollständig integrierte, Mehrphasen-Energie- und Leistungsqualitätsüberwachungs-Bauteile. Die ADE9000 AFEs zeichnen sich durch umfassende Netzüberwachungsfunktionen mit ±3 ºC Genauigkeit über einen breiten Dynamikbereich aus. Entwickler können die ADE9000 AFEs für vollständige und grundlegende Messungen auf rms, aktive, reaktive und offensichtliche Leistungen und Energien verwenden. Die Bauteile unterstützen die Standards IEC 62053-21, IEC 62053-22, EN50470-3, OIML R46 und ANSI C12.20 für aktive Energie und die IEC 62053-23, IEC 62053-24 Standards für reaktive Energie.

Integrierter, flexibler Wellenform-Puffer
Die ADE9000 AFEs verfügen über einen integrierten flexiblen Wellenformpuffer, der Proben mit einer festen Datenrate von 32 kSPS oder 8 kSPS speichert. Die AFEs können auch eine Abtastrate verwenden, die je nach Netzfrequenz variiert. Diese Abtastrate sorgt für 128 Punkte pro Zeilenzyklus. Resampling vereinfacht die schnelle Fourier-Transformationsberechnung (FFT) von mindestens 50 Oberschwingungen in einem externen Prozessor gemäß IEC 61000-4-7.

Integrierte Akquisitions- und Rechenmaschine
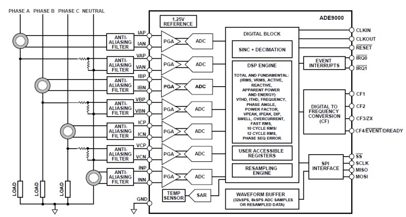
Mit den ADE9000 AFEs vereinfachen die Energie- und Stromqualitäts-Überwachungssysteme die Implementierung durch eine enge Integration von Akquisitions- und Rechenmaschinen. ADE9000 integrierte ADCs und digitale Signalprozessor-Engines berechnen Parameter und liefern Daten durch benutzerzugängliche Register. Mit sieben dedizierten ADC-Kanälen können Entwickler den ADE9000 auf einem 3-phasigen System oder auf bis zu drei Einphasensystemen einsetzen. Das Gerät unterstützt Rogowski-Spulen und Stromtransformatoren (CTs) für aktuelle Messungen. Bei Verwendung mit einem Host-Mikrocontroller ermöglicht das ADE9000 die Gestaltung eigenständiger Überwachungs- und Schutzsysteme. Entwickler können auch ADE9000 AFEs mit einem Host-Mikrocontroller verwenden, um kostengünstige Knoten zu entwickeln, die Daten in die Cloud hochladen.

Merkmale

  • 7 Hochleistungs-ADCs
    • 101 dB SNR
    • Breiter Eingangsspannungsbereich: ±1 V, 707 mVRMS FS bei Verstärkung = 1
    • Differentielle Eingänge
  • ±25 ppm/°C maximaler Kanal-Drift (einschließlich ADC, interner VREF, PGA-Abweichung) ermöglicht einen 10.000:1 dynamischen Eingabebereich
    • Klasse 0.2 Metrologie mit externen Standardkomponenten
  • Stromqualitätsmessungen
    • Ermöglicht die Implementierung von IEC 61000-4-30 Klasse S
    • VRMS ½, IRMS ½ RMS-Spannung wird bei jedem halben Zyklus aktualisiert
    • 10 Zyklus rms / 12 Zyklus rms
    • DIP- und Anschwell-Überwachung
    • Leitungsfrequenz - eine pro Phase
    • Nulldurchgang, Nulldurchgangs-Timeout
    • Phasenwinkelmessungen
  • Unterstützt CTs und Rogowski-Spulen-Sensoren (dI/dt)
    • Mehrfachbereichsphasen-/Verstärkungskompensation für CTs
    • Digitaler Integrator für Rogowski-Spulen
  • Flexibler Wellenform-Puffer
    • In der Lage, die Wellenform neu abzutasten, um 128 Punkte pro Zeilenzyklus zu gewährleisten, um die externe harmonische Analyse zu erleichtern
  • Ereignisse, wie DIP und Anschwellen können einen Waveformspeicher auslösen
  • Vereinfacht die Datenerfassung für IEC 61000-4-7 harmonische Analyse
  • Erweiterter Metrologiefunktionsumfang
    • Total und fundamentale Wirkleistung, Volt Ampere reaktiv (VAR), Volt Ampere (VA), Watt-Stunde, VAR Stunde und VA Stunde
    • Gesamte und grundlegende IRMS, VRMS
    • Gesamte harmonische Verzerrung
    • Leistungsfaktor
    • Unterstützt die aktiven Energiestandards: IEC 62053-21, IEC 62053-22, EN50470-3, OIML R46 und ANSI C12.20
    • Unterstützt reaktive Energiestandards: IEC 62053-23, IEC 62053-24
  • Hochgeschwindigkeits-Kommunikationsanschluss: 20 MHz serielle Anschlussschnittstelle (SPI)
  • Integrierter Temperatursensor mit 12-Bit-ADC mit sukzessivem Approximation-Register (SAR)
    • ±3 °C Genauigkeit von -40 °C bis 85 °C

Applikationen

  • Strom- und Energieüberwachung
  • Leistungsqualitätsüberwachung
  • Schutzvorrichtungen
  • Maschinenzustand
  • Intelligente Stromverteilungsgeräte
  • Mehrphasige Energiemessgeräte

Typischer Applikationskreislauf

Blockdiagramm - Analog Devices Inc. ADE9000 AFEs
Veröffentlichungsdatum: 2017-03-31 | Aktualisiert: 2022-03-11