Analog Devices Inc. ADL8112-EVALZ Evaluierungsboard
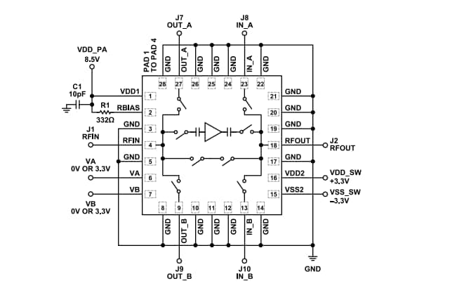
Analog Devices ADL8112-EVALZ Evaluation Board bietet Komponenten, die sich ideal für den Einsatz über den gesamten Betriebstemperaturbereich von -40 °C bis +85 °C des ADL8112 eignen. Die ADL8112 10 MHz bis 26,5 GHz Verstärker sind rauscharme Verstärker (LNA) mit Bypass-Schalter. Die 4-layer Leiterplatte (PCB) ist aus 10mil dickem Rogers 4.350 B und Isola 370HR, kupferkaschiert, aufgebaut und hat eine Nenndicke von 62mils. Außerdem sind die RFIN- und RFOUT-Anschlüsse auf ADL8112-EVALZ mit 2,92 mm Koaxialbuchsen bestückt, und die zugehörigen HF-Leitungen haben einen Wellenwiderstand von 50 Ω.Zugriff auf das ADL8112-EVALZ Netzteil und die digitalen Steuerpins von ADI über die Testpunkt-Steckverbinder mit Oberflächenmontage-Technologie (SMT), VDD_PA, GND, VDD_SW, VSS_SW, VA, und VB.
Die HF-Spuren auf dem ADL8112-EVALZ sind geerdete, koplanare Wellenleiter mit 50 Ω. Die Gehäuse-Masseleitungen und das freiliegende Pad verbinden sich direkt mit der Erdungsfläche. Mehrere Durchkontaktierungen verbinden die oberen und unteren Erdungsflächen und konzentrieren sich auf den Bereich direkt unter dem Erdungspaddel, um eine ausreichende elektrische und thermische Leitung zum ADL8112-EVALZ bereitzustellen.
Merkmale
- 4-lagiges Rogers-4350B- und Isola-370HR-Evaluierungsboard
- End-Launch, 2,92 mm HF-Steckverbinder
- Über den Kalibrierungspfad (unbestückt)
Erforderliche Ausrüstung
- HF-Signalgenerator
- HF-Spektrumanalysator
- HF-Netzwerkanalysator
- 8,5 V, 300 mA Netzteil
- +3,3 V und -3,3 V, 100 mA Netzteile
Schaltschema
PCB-Layout
Montagezeichnung (J5, J6, J11, und J12 nicht installiert)
Veröffentlichungsdatum: 2023-06-08
| Aktualisiert: 2025-03-14
