Analog Devices Inc. ADPA1122 20-W-GaN-Leistungsverstärker
Der ADPA1122 20-W-GaN-Leistungsverstärker von Analog Devices Inc. bietet 43 dBm (20 W) mit einem Leistungswirkungsgrad (PAE) von mehr als 43 % über einen Frequenzbereich von 8,2 GHz bis 11,8 GHz. Der ADPA1122 Galliumnitrid (GaN)-Leistungsverstärker bietet eine Gain-Flachheit von ±0,5 dB von 9,6 GHz bis 11 GHz. Der ADPA1122 von ADI ist für gepulste Militär-, Marine- und Wetterradarapplikationen optimiert.Der ADPA1122 ist in einem bleifreien Chipträger mit 18 Anschlüssen (7 mm × 7 mm) und einem Kühlkörper [LCC_HS] untergebracht. Das Gehäuse weist einen geringen Wärmewiderstand auf und ist mit oberflächenmontierten Fertigungstechniken kompatibel.
Merkmale
- Intern angepasster und AC-gekoppelter 20-W-GaN-Leistungsverstärker
- Integrierter temperaturkompensierter HF-Leistungsdetektor
- POUT mit PIN = 22 dBm, 43,5 dBm typisch von 9,6 GHz bis 11 GHz
- Kleinsignalverstärkung von 31 dB (typisch) von 9,6 GHz bis 11 GHz
- Leistungsverstärkung mit PIN = 22 dBm: 21,5 dB Typ. von 8,2 GHz bis 11 GHz
- PAE ist 46 % (typisch) von 9,6 GHz bis 11 GHz
- Versorgungsspannung von 28 V bei 200 mA und einem Tastverhältnis von 10 %
- LCC_HS-Gehäuse mit 18 Anschlüssen von 7 mm × 7 mm
Applikationen
- Wetterradar
- Marineradar
- Militärradar
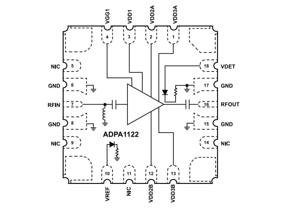
Funktionales Blockdiagramm
Veröffentlichungsdatum: 2023-05-18
| Aktualisiert: 2023-05-30
