Analog Devices Inc. ADS3500 ToF-Tiefenbildsignalprozessor
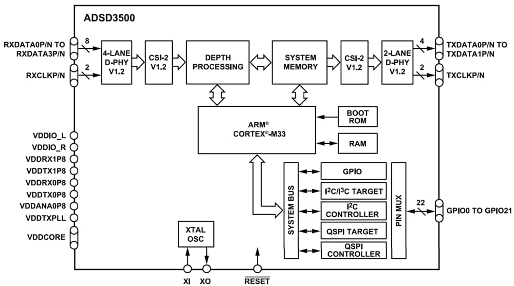
Analog Devices Inc. ADS3500 ToF-Tiefenbildsignalprozessor verarbeitet Rohphasenbilder vom ToF-Imager, um eine radiale Tiefe, aktive Helligkeit (AB), und Frames mit hoher Echtheit zu erzeugen. Der Analog Devices Inc. ASD3500 verfügt über einen integrierten Arm® Cortex®-M33 und verwaltet den Daten- und Verarbeitungsfluss. Der ADSD3500 unterstützt die Berechnung von einer Auflösung von 640 x 512 und einer teilweisen Tiefenberechnung für eine Auflösung von 1.024 x 1.024 und optimiert den Stromverbrauch. Darüber hinaus steuert es das Hochfahren des Bildsensormoduls, das Laden von Kalibrierungsdaten und die Frameauslösung.Merkmale
- Tiefenprozessor für Time-of-Flight-Imager
- Vollständige Verarbeitung mit einer Auflösung von 640 x 512, bis zu 90 Bilder pro Sekunde (FPS)
- Teiltiefe-Verarbeitung mit einer Auflösung von 1.024 x 1.024, bis zu 30 FPS
- Statischer On-Chip RAM (SRAM) für Frame-Pufferung und -Manipulation
- ARM Cortex-M33-Prozessor für Datenflusssteuerung
- MIPI CSI-2-Empfängerschnittstelle mit 4 Spuren, 2,5 GBit/s pro Spur
- 2-Spur MIPI CSI-2 Sender-Schnittstelle, 2,5 GBit/s pro Spur
- I2C-Controller und Ziel (1 MHz), I3C-Ziel (12,5 MHz)
- QSPI-Controller (50MHz) und Ziel (30MHz)
- 22 GPIO für externe Konnektivität
- Quarzoszillator (24 MHz) oder externer Takt (24 MHz, 19,2 MHz)
- 1,8 V I/O-Versorgung, 0,8 V Kernversorgung
- 3,47 mm x 3,47 mm WLCSP mit 9 x 9 ball-array
Applikationen
- AR-Systeme (Augmented Reality)
- Robotik
- Gebäudeautomation
- Maschinelle Sehsysteme
Blockdiagramm
Veröffentlichungsdatum: 2023-12-26
| Aktualisiert: 2024-04-11
