Analog Devices Inc. ADXL362 3-Achsen-MEMS-Beschleunigungsmesser
Analog Devices Inc. ADXL362 3-Achsen-MEMS-Beschleunigungsmesser verbrauchen bei einer Ausgangsdatenrate von 100 Hz weniger als 2 μA und 270 nA im bewegungsauslösenden Anlaufmodus. Beim ADXL362 gibt es kein Aliasing von Eingangssignalen durch Unterabtastung. Er tastet im Gegensatz zu Beschleunigungsmessern, die Leistungstaktzyklen verwenden, um einen geringen Stromverbrauch zu erzielen, die gesamte Bandbreite des Sensors bei allen Datenraten ab.Die ADXL362 Beschleunigungsmesser bieten eine 12-Bit-Ausgangsauflösung und formatierte 8-Bit-Daten werden ebenfalls für Einzel-Byte-Übertragungen mit höherem Wirkungsgrad bereitgestellt, wenn eine niedrigere Auflösung ausreichend ist. Das Bauteil verfügt über Messbereiche von ±2 g, ±4 g und ±8 g mit einer Auflösung von 1 mg/LSB über den ±2-g-Bereich. Zwei Modi mit geringerem Rauschen (bis zu 175 μg/√Hz, typisch) können, falls gewünscht, mit einem minimalen Anstieg des Versorgungsstroms für Applikationen ausgewählt werden, bei denen der Rauschpegel weniger als der im ADCL362 normalerweise verwendete Rauschpegel von 550 µg/√Hz beträgt.
Der ADXL362 verfügt über viele Funktionen, die eine echte Leistungsreduzierung auf Systemebene ermöglichen. Dazu gehören ein tiefer Multimodus-Ausgangs-FIFO, ein eingebauter Mikropower-Temperatursensor und zahlreiche Anlauferkennungsmodi. Diese Modi umfassen einen einstellbaren Schwellenwert-Schlaf- und Anlaufbetrieb, der bei einer Messrate von 6 Hz so niedrig wie mit 270 nA betrieben werden kann.
Die MEMS-Beschleunigungsmesser sind in einem Gehäuse von 3 mm × 3,25 mm x 1,06 mm erhältlich und werden in einem großen Versorgungsbereich von 1,6 V bis 3,5 V betrieben.
Merkmale
- Sehr geringer Stromverbrauch
- Die Stromversorgung kann über eine Knopfzelle erfolgen
- 1,8 μA bei 100 Hz ODR, 2,0 V Versorgung
- 3,0 μA bei 400 Hz ODR, 2,0 V Versorgung
- Bewegungsgesteuerte Anlaufmodus von 270 nA
- Standby-Strom von 10 nA
- Hohe Auflösung: 1 mg/LSB
- Integrierte Funktionen für Stromeinsparungen auf Systemebene:
- Einstellbare Schwellenwert-Schlaf-/Anlauf-Modi für die Bewegungsaktivierung
- Autonome Unterbrechungsverarbeitung ohne die Notwendigkeit eines Mikrocontroller-Eingriffs, um ein vollständiges Ausschalten des Rests des Systems zu ermöglichen.
- Stark embedded FIFO zur Reduzierung der Last des Host-Prozessors
- Anlauf-Statusausgang ermöglicht die Implementierung von eigenständigem, bewegungsaktiviertem Schalter
- Geringes Rauschen bis zu 175 μg/√Hz
- Große Versorgungs- und I/O-Bereiche: 1,6 V bis 3,5 V
- Wird von 1,8-V- bis 3,3-V-Schienen betrieben
- Beschleunigungsabtast-Synchronisierung über einen externen Auslöser
- On-Chip-Temperatursensor
- SPI-Digitalschnittstelle
- Wählbare Messbereiche über SPI-Befehl wählbar
- Kleines und dünnes Gehäuse von 3 mm × 3,25 mm x 1,06 mm
Applikationen
- Hörgeräte
- Geräte für die häusliche Krankenpflege
- Bewegungsaktivierte Stromspar-Schalter
- Drahtlose Sensoren
- Bewegungsaktivierte Messgeräte
Weitere RESSOURCEN
Die Wahl des richtigen Beschleunigungsmessers für die vorbeugende Wartung
Durch die Zustandsüberwachung einer Maschine wird eine vorbeugende Wartung ermöglicht, wodurch Ausfälle frühzeitig erkannt und damit Betriebskosten und Ausfallzeiten wesentlich reduziert werden. Um zu bestimmen, wann der richtige Zeitpunkt zum Auslösen von Wartungsarbeiten ist, verwendet der Hersteller Parameter, wie z. B. Vibrations-, Rausch- und Temperaturmessungen. In einer rotierenden Maschine (Motor, Generator usw.) können anormale Vibrationen ein Zeichen für ein fehlerhaftes Kugellager, eine fehlerhafte Ausrichtung bzw. Unwucht oder übermäßige Lockerheit der Achse sein. Ein rauscharmer Beschleunigungsmesser mit hoher Bandbreite verhindert, dass man auf unerwartete Weise überrascht wird und sorgt dafür, dass die ersten Anzeichen einer Anomalie erkannt werden. Mehr erfahren
Zustandsbasierte Überwachung des menschlichen Körpers
Mit Fortschritten in der Technologie wird die Überwachung der Vitalparameter in verschiedenen Branchen und während unseres täglichen Lebens immer häufiger. Unabhängig davon, ob sie zur Behandlung oder Prävention eingesetzt werden, erfordern solche gesundheitsbezogenen Lösungen eine zuverlässige und robuste Technologie.Mehr erfahren
Videos
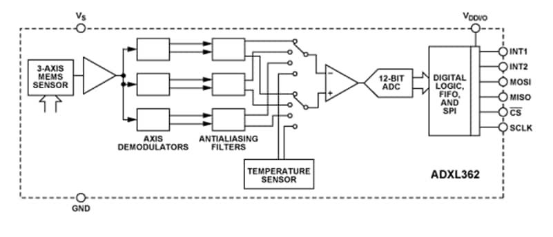
Blockdiagramm
