Analog Devices / Maxim Integrated DS28C50 DeepCover® I2C-Secure-Authentifikator
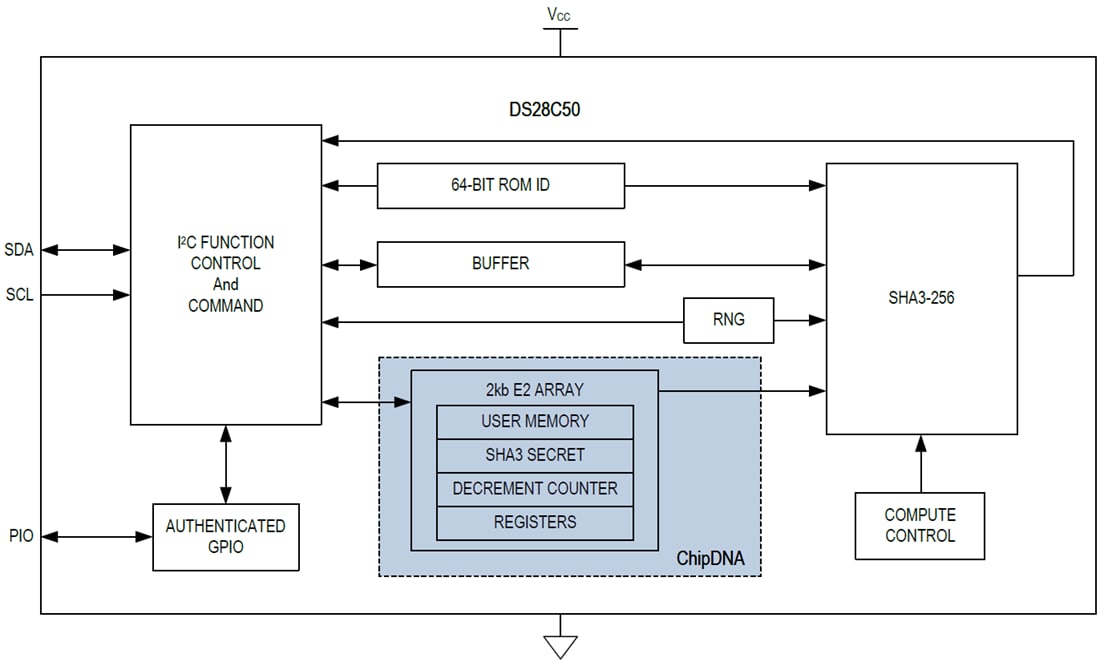
Der Maxim DS28C50 DeepCover® 12C-Secure-Authenticator kombiniert eine FIPS202-konforme SHA-3-(Secure Hash Algorithm)-Anfrage-/Antwort-Authentifizierung mit der patentierten ChipDNA™-Technologie von Maxim. Diese Funktion ist eine physisch nicht-klonbare Funktion (Physically Unclonable Function, PUF), die eine kostengünstige Lösung mit dem höchsten Schutz gegen Sicherheitsangriffe bietet. Die ChipDNA-Implementierung verwendet die zufällige Variation der Eigenschaften von Halbleiterbauelementen, die natürlicherweise während der Waferherstellung auftreten. Die ChipDNA-Schaltung erzeugt einen eindeutigen Ausgangswert, der über Zeit, Temperatur und Betriebsspannung wiederholbar ist. Versuche, den ChipDNA-Betrieb abzutasten oder zu beobachten, ändern die zugrunde liegenden Schaltungseigenschaften, was die Entdeckung des einzigartigen Werts, der von den kryptographischen Funktionen des Chips verwendet wird, verhindert.Der DS28C50 nutzt den ChipDNA-Ausgang als Schlüsselinhalt, um sämtliche auf dem Bauteil gespeicherten Daten kryptografisch zu sichern. Dieses Bauteil mit der ChipDNA-Funktion bietet einen Core-Satz von kryptografischen Tools, die von den integrierten Blöcken abgeleitet werden. Diese Blöcke umfassen eine SHA-3-Engine, einen FIPS-/NIST-konformen echten Zufallsnummerngenerator (TRNG), einen gesicherten EEPROM von 2 KBit, einen Nur-Rückwärtszähler und eine einzigartige 64-Bit-ROM-Identifikationsnummer (ROM-ID). Die einzigartige ROM-ID dient als grundlegender Eingangsparameter für kryptografische Betriebsabläufe und als eine elektronische Seriennummer innerhalb der Applikation. Der DS28C50 kommuniziert über ein I2C-Netzwerk.
Merkmale
- Robuste Gegenmaßnahmen schützen vor Sicherheitsangriffen
- Patentierte physikalisch nicht klonbare Funktion sichert Gerätedaten
- Aktiv überwachte Chip-Abschirmung erkennt und reagiert auf Eindringversuche
- Alle gespeicherten Daten sind kryptografisch vor Entdeckung geschützt
- Effizienter sicherer Hash-Algorithmus authentifiziert die Peripherie
- FIPS202-konformer SHA-3-Algorithmus für Anfrage-/Antwort-Authentifizierung
- FIPS198-konformer Keyed-Hash Message Authentication Code (HMAC)
- TRNG mit NIST SP 800-90B-konformer Entropie-Quelle
- Ergänzende Funktionen ermöglichen eine einfache Integration in die Endapplikation
- Einmalig einstellbarer, nicht-flüchtiger 17-Bit-Nur-Rückwärtszähler mit authentifizierter Lesefunktion
- Ein GPIO-Pin mit optionaler Authentifizierungssteuerung
- 2 KBits EEPROM für Benutzerdaten, Schlüssel und Steuerregister
- Einzigartige und unabänderliche im Werk programmierte 64-Bit-Identifikationsnummer (ROM-ID)
- Betriebsbereich: 3,3 V ±10 %, -40 °C bis +85 °C
- 6-Pin-TDFN-EP-Gehäuse (3 mm x 3 mm)
- I2C-Kommunikation von bis zu 1 MHz
Applikationen
- Authentifizierung von medizinischen Sensoren und Tools
- Sicheres Management von Verbrauchsmaterialien mit eingeschränktem Verbrauch
- Kryptografischer Schutz von IoT-Knoten
- Sichere Authentifizierung von Zubehör und Peripherie
- Druckerpatronen-Identifizierung und -Authentifizierung
Blockdiagramm
