Analog Devices / Maxim Integrated DS28E84 DeepCover 1-Wire-Authentifikator
Der Maxim Integrated DS28E84 DeepCover 1-Wire-Authentifikator ist ein strahlenbeständiger sicherer Authentifikator, der einen Kernsatz kryptografischer Tools bietet. Die Sicherheitsfunktionen sind von integrierten asymmetrischen (ECC-P256) und symmetrischen (SHA-256) abgeleitet. Das Bauteil enthält einen FIPS-konformen, echten Zufallsnummerngenerator (TRNG). Ebenfalls integriert ist ein sicheres OTP von 10 Kb, ein FRAM von 15 kB, ein konfigurierbarer GPIO und eine eindeutige 64-Bit-ROM-Kennnummer (ROM-ID).Merkmale
- Die hohe Strahlungsbeständigkeit ermöglicht die benutzerprogrammierbare Erstellung oder Kalibrierung von Daten vor der medizinischen Sterilisierung
- Beständig gegen Strahlung von bis zu 75 kGy (kiloGray)
- Einmalig programmierbar (OTP) von 10 kB Benutzerdaten, Schlüssel und Zertifizierungen
- 15 Kb sicheres FRAM für Benutzerdaten und Zertifikate
- ECC-P256 Rechenengine
- ECDSA-P256-Signatur und -Verifizierung gemäß FIPS 186
- ECDH-Schlüsselaustausch für Session-Schlüsseleinrichtung
- ECDSA-authentifizierter R/W-konfigurierbarer Speicher
- SHA-256 Rechenengine
- FIPS 180 MAC für sicheres Herunterladen/Hochfahren
- FIPS 198 HMAC für bidirektionale Authentifizierung und optionale GPIO-Steuerung
- SHA-256 OTP-verschlüsselter (One-Time-Pad, OTP) R/W-konfigurierbarer Speicher über ECDH-etablierten Schlüssel
- Optionale Chip-generierte Pr/Pu-Schlüsselpaare für ECC-Vorgänge oder geheime Schlüssel für SHA256-Funktionen
- Ein GPIO-Pin mit optionaler Authentifizierungssteuerung
- Open-Drain, 4 mA/0,4 V
- Optionales SHA-256- oder ECDSA-authentifiziertes Ein/Aus und Auslesen des Zustands
- Optionales ECDSA-Zertifikat zur (De-)Aktivierung nach Multiblock-Hash für ein sicheres Herunterladen
- TRNG mit NIST-SP-800-90B-konformer Entropiequelle mit Auslesefunktion
- Einmalig einstellbarer, nicht flüchtiger, ausschließlich dekrementierender 17-Bit-Zähler mit authentifiziertem Auslesen
- Einzigartige und unveränderliche, werkseitig programmierte 64-Bit-Identifikationsnummer (ROM-ID)
- Optionale Eingangsdatenkomponente für Krypto- und Schlüsselvorgänge
- Fortschrittliches 1-Wire-Protokoll reduziert die Schnittstelle auf einen einzigen Kontakt
- Betriebsbereich: 3,3 V ±10 %, 0 °C bis +50 °C
- ±8 kV HBM-ESD-Schutz von 1-Wire-IO-Pin
- 6-Pin-TDFN von 3 x 3 mm
Applikationen
- Sichere Authentifizierung von medizinischen Verbrauchsmaterialien
- Identifikation und Kalibrierung medizinischer Instrumente/Zubehörteile
- Sichere Authentifizierung von Zubehör und Peripherie
- Sichere Speicherung von kryptografischen Schlüsseln für Host-Controller
- Sicheres Hochfahren oder Herunterladen von Firmware bzw. Systemparametern
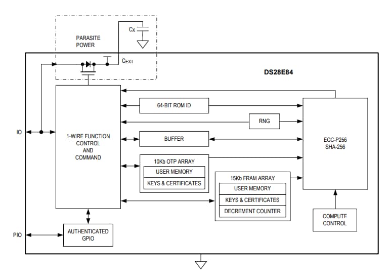
Blockdiagramm
Veröffentlichungsdatum: 2019-03-26
| Aktualisiert: 2023-09-15
