Analog Devices / Maxim Integrated MAX30003 Biopotenzial-AFE
Das Maxim Integrated MAX30003 Biopotenzial-Analog-Front-End (AFE) ist ein EKG-AFE für klinische Anwendungen mit einem hochauflösenden Datenwandler. Das MAX30003 ist eine vollständige Biopotenzial-Analog-Front-End-Lösung für tragbare Anwendungen. Das Gerät bietet eine hohe Leistung für klinische und Fitness-Anwendungen. Das MAX30003 bietet einen biopotenzialen Kanal mit sehr niedrigem Energieverbrauch für eine lange Batterielebensdauer.The MAX30003 has ESD protection, EMI filtering, internal lead biasing, DC leads-off detection, ultra-low power leads-on detection during standby mode, and extensive calibration voltages for built-in self-test. Soft power-up sequencing ensures no large transients are injected into the electrodes. The MAX30003 also has high input impedance, low noise, high CMRR, programmable gain, various low-pass and high-pass filter options, and a high-resolution analog-to-digital converter. The device is DC coupled, can handle large electrode voltage offsets, and has a fast recovery mode to quickly recover from overdrive conditions, such as defibrillation and electrosurgery.
The Analog Devices MAX30003 Biopotential AFE is available in a 28-pin TQFN and 30-bump Wafer-Level Package (WLP), operating over the 0°C to +70°C commercial temperature range.
Merkmale
- Clinical-Grade ECG AFE with High-Resolution Data Converter
- 15.5 Bits Effective Resolution with 5μVP-P Noise
- Better Dry Starts Due to Much Improved Real World CMRR and High Input Impedance
- Fully Differential Input Structure with CMRR > 100dB
- Offers Better Common-Mode to Differential Mode Conversion Due to High Input Impedance
- High Input Impedance > 500MΩ for Extremely Low Common-to-Differential Mode Conversion
- Minimum Signal Attenuation at the Input During Dry Start Due to High Electrode Impedance
- High DC Offset Range of ±650mV (1.8V, typ) Allows to Be Used with Wide Variety of Electrodes
- High AC Dynamic Range of 65mVP-P Will Help the AFE Not Saturate in the Presence of Motion/Direct Electrode Hits
- Leads-On Interrupt Feature Allows to Keep μC in Deep Sleep Mode with RTC Off Until Valid Lead Condition is Detected
- Lead-On Detect Current: 0.7μA (typ)
- Longer Battery Life Compared to Competing Solutions
- 85μW at 1.1V Supply Voltage
- Built-In Heart Rate Detection with Interrupt Feature Eliminates the Need to Run HR Algorithm on the μController
- Robust R-R Detection in High Motion Environment at Extremely Low Power
- Configurable Interrupts Allows the μC Wake-Up Only on Every Heart Beat Reducing the Overall System Power
- High Accuracy Allows for More Physiological Data Extractions
- 32-Word FIFO Allows You to Wake Up μController Every 256ms with Full ECG Acquisition
- High-Speed SPI Interface
- Shutdown Current of 0.5μA (typ)
Applikationen
- Single Lead Event Monitors for Arrhythmia Detection
- Single Lead Wireless Patches for At-Home/In-Hospital Monitoring
- Chest Band Heart Rate Monitors for Fitness Applications
- Bio Authentication and ECG-On-Demand Applications
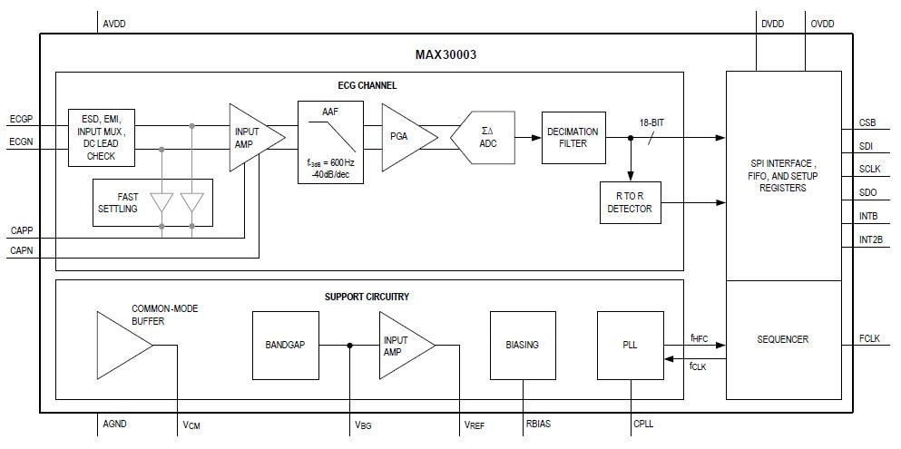
Block Diagram
