Analog Devices / Maxim Integrated MAX5825 8-Kanal 12-Bit DACs

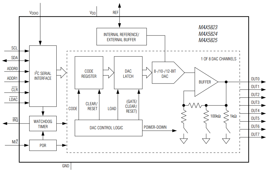
Der MAX5825 8-Kanal 12-Bit Digital-Analog Wandler (DAC) von Maxim Integrated ist ein Spannungsausgangs-Digital-zu-Analog-Wandler, der u. a. über Ausgangspuffer und eine interne 3 ppm/°C Referenzspannung verfügt, die zwischen 2,048 V, 2,500 V oder 4,096 V wählbar ist. Der MAX5825 DAC von Maxim Integrated akzeptiert einen breiten Versorgungsspannungsbereich von 2,7 V bis 5,5 V mit extrem niedrigem Energieverbrauch (3 mW) und eignet sich daher für die meisten Niederspannungs-Anwendungen. Ein externer Präzisions-Referenzeingang ermöglicht einen Rail-to-Rail-Betrieb und legt eine Last von 100 kΩ (typisch) für eine externe Referenz vor. Zu MAX5825 gehört eine I²C-kompatible, zweiadrige serielle Schnittstelle, die bei Taktraten von 400 kHz betrieben wird. Der DAC-Ausgang ist gepuffert und verfügt über einen niedrigen Versorgungsstrom von weniger als 250 µA pro Kanal und einen niedrigen Offset-Fehler von ±0,5 mV (typisch). Der MAX5825 setzt die DAC-Ausgänge beim Einschalten auf Null oder Mittelwert zurück, basierend auf dem Status des Active-Low-M/Z-Logikeingangs und bietet Flexibilität für eine Vielzahl von Steuerungsanwendungen. Der MAX5825 verfügt über eine Watchdog-Funktion, die aktiviert ist, um die I/O-Schnittstelle für Aktivität und Integrität zu überwachen.

The MAX5825 has an I²C-compatible, 2-wire interface that operates at clock rates up to 400kHz. The DAC output is buffered and has a low supply current of less than 250µA per channel and a low offset error of ±0.5mV (typ). The MAX5825 resets the DAC outputs on power up to zero or midscale based on the status of active-low M/Z logic input, providing flexibility for a variety of control applications. The MAX5825 features a watchdog function that can be enabled to monitor the I/O interface for activity and integrity.

Merkmale

  • Eight high-accuracy DAC channels
    • 12-Bit accuracy without adjustment
    • ±1 LSB INL Buffered voltage output
    • Guaranteed monotonic over all operating conditions
    • Independent mode settings for each DAC
  • Three precision selectable internal references
    • 2.048V, 2.500V, or 4.096V
  • Internal output buffer
    • Rail-to-rail operation with external reference
    • 4.5µs Settling time
    • Outputs directly drive 2kΩ loads
  • Wide 2.7V to 5.5V supply range
  • Separate 1.8V to 5.5V VDDIO power-supply input
  • Fast 400kHz I²C-compatible, 2-wire serial interface
  • Pin-selectable power-on-reset to zero-scale or midscale DAC output
  • Active-low LDAC and active-low CLR for asynchronous DAC control
  • Three software-selectable power-down output impedances
    • 1kΩ, 100kΩ, or high impedance

Applikationen

  • Automatic tuning and optical control
  • Gain and offset adjustment
  • Portable instrumentation
  • Power amplifier control and biasing
  • Process control and servo loops
  • Programmable voltage and current sources

Functional Diagram

Blockdiagramm - Analog Devices / Maxim Integrated MAX5825 8-Kanal 12-Bit DACs
Veröffentlichungsdatum: 2012-04-10 | Aktualisiert: 2023-04-12