Apex Microtechnology VRE205 Low Drift Precision Voltage Reference

Apex Microtechnology VRE205 Low Drift Precision Voltage Reference provides ultrastable +5V outputs with ±0.8mV initial accuracy. The VRE205 also provides a 1.33ppm/°C temperature coefficient over the full military temperature range. Accuracy improvement is possible by a multipoint laser compensation technique. Other performance improvements include initial accuracy, warm-up drift, line regulation, and long-term stability. This feature makes the Apex Microtechnology VRE205 accurate and stable. The VRE205 is housed in a 20-terminal ceramic LCC package for maximum long-term stability.

Features

  • +5V output, ±0.8mV high accuracy 
  • 1.33ppm/°C (-55°C to +125°C) low drift
  • 6ppm/1000 hours typical excellent stability
  • 6ppm/V Typical excellent line regulation
  • ±13.5V to ±22V wide supply range

Applications

  • Precision A/D and D/A converters
  • Transducer excitation
  • Accurate comparator threshold reference
  • High-resolution servo systems
  • Digital voltmeters
  • High-precision test and measurement instruments

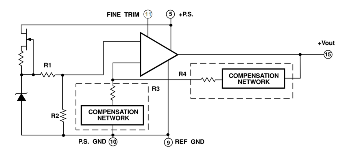
BLOCK DIAGRAM

Block Diagram - Apex Microtechnology VRE205 Low Drift Precision Voltage Reference
Veröffentlichungsdatum: 2020-08-24 | Aktualisiert: 2024-04-09