Diodes Incorporated AH3722A und AH3724A Hall-Effekt-Verriegelungs-ICs
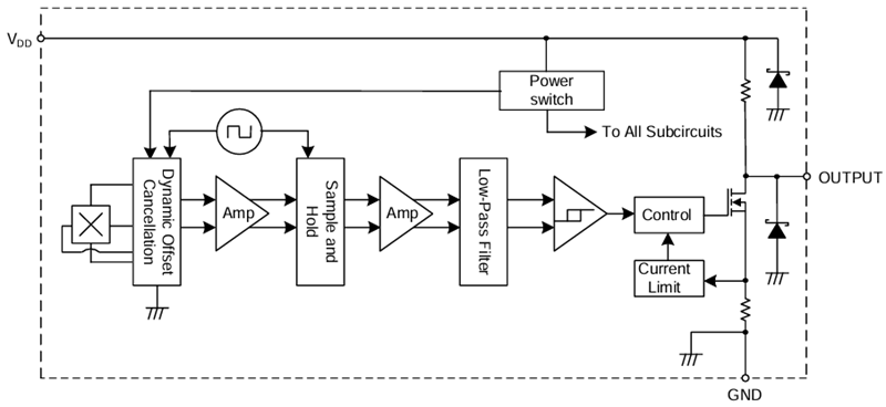
Diodes Incorporated AH3722A und AH3724A Hall-Effekt-Verriegelungs-ICs sind für verschiedene Applikationen ausgelegt, einschließlich bürstenlose DC-Motoren, Durchflussmesser, Linear-Encoder und Positionssensoren. Die Bauteile von Diodes Incorporated unterstützen eine große Auswahl von Applikationen, die über einen Versorgungsbereich von 3,0 V bis 28 V betrieben werden. Die ICs verfügen über eine spannungsstabilisierte Architektur und einen internen Bandlückenregler, der eine temperaturkompensierte Versorgung für seine Schaltungen gewährleistet. Darüber hinaus enthalten die ICs eine Zener-Klemme auf der Versorgung und dem Ausgang mit Überstrombegrenzung und eine Zener-Klemme für eine verbesserte Robustheit und Schutz.Merkmale
- Bipolare Verriegelung (Südpol: Ein, Nordpol: Aus)
- Betriebsspannungsbereich: 3,0 V bis 28 V
- BOP und BRP von 25 G bis 40 G und -25 G bis -40 G typische hohe Empfindlichkeit
- Interner Pullup-Widerstand auf dem Ausgangspin
- Beständig gegen körperliche Belastung
- Ausgangsüberstrombegrenzung
- Chopper-stabilisiertes Design bietet eine hervorragende Temperaturstabilität, minimale Schaltpunkt-Drift und eine verbesserte Beständigkeit gegen Belastungen
- Gute HF-Rauschimmunität
- Rückwärtssperrdiode und Zener-Klemme bei Versorgung
- -40 °C bis +125 °C Betriebstemperatur
- Hohe ESD-HBM von 8 kV
- SC59-, SOT23- (Typ S), SIP-3- (Ammo-Pack) und SIP-3-Gehäuse (Bulk-Pack) nach Industriestandard
- Vollständig RoHS-konform und völlig bleifrei
- Halogen- und antimonfreies umweltfreundliches Bauteil
Applikationen
- Bürstenlose DC-Motorkommutierung
- Messung der Umdrehung pro Minute (U/min)
- Durchflussmessgeräte
- Winkel- und lineare Encoder und Positionssensoren
- Berührungslose Kommutierung, Geschwindigkeitsmessung und Winkelpositionserkennung/-indexierung in Haushaltsgeräten, Büroausrüstungen und Industrieapplikationen
Typische Applikations-Schaltung
Blockdiagramm
Veröffentlichungsdatum: 2024-02-21
| Aktualisiert: 2024-03-07
