Diodes Incorporated AP3441/L und AP3445/L DC/DC-Abwärtswandler
Diodes Incorporated AP3441/L und AP3445/L DC/DC-Abwärtswandler bieten eine hervorragende Stabilität, ein schnelles Einschwingverhalten und eine ausgezeichnete Leitungs- und Lastregelung mit einem hohen Wirkungsgrad. Diese synchronen DC/DC-Abwärtswandler liefern einen maximalen Ausgangsstrom von 2 A (AP3441/L) und 3 A (AP3445/L) und verbrauchen einen Nulllast-Ruhestrom von nur 55 µA. Die integrierten MOSFETs mit sehr niedrigem RDS(ON) und das Tastverhältnis von 100 % machen diese Bauteile eine hervorragende Wahl für Applikationen mit hohen Ausgangsspannungen und hohen Strömen, die einen niedrige Dropout-Schwellenwert erfordern.Der Impulssprungmodus hält einen hohen Wirkungsgrad bei Leichtlastbedingungen aufrecht.Der AP3441/L wird in einem W-DFN2020-8-Gehäuse angeboten. Der AP3445/L ist in einem SOT236-Gehäuse verfügbar. Alle Gehäuseoptionen sind vollständig bleifrei, halogenfrei, antimonfrei und vollständig RoHS-konform.
Merkmale
- Eingangsspannung: 2,7 V bis 5,5 V
- Ausgangsspannung: 0,6 V bis VIN
- Ausgangsstrom
- AP3441, AP3441L: 2 A
- AP3445, AP3445L: 3 A
- 0,6 V Referenzspannung mit ±1,5 % Genauigkeit
- 55 µA Nulllast-Ruhestrom (typisch)
- Abschaltstrom: <1 µA
- Betrieb mit Tastverhältnis von 100 %
- 1 MHz Schaltfrequenz
- Keine externe Kompensation erforderlich
- Thermische Abschaltung
- Kurzschluss-Sicherung
- AP3441, AP3445: Hiccup-Schutz
- AP3441L, AP3445L: Latch-Off-Schutz
- Überspannungsschutz
- AP3441, AP3445: Schutz ohne Latch-Off
- AP3441L, AP3445L: Latch-Off-Schutz
- Vollständig RoHS-konform und völlig bleifrei
- Halogen- und antimonfrei Umweltfreundliches Bauteil
- Gehäuse
- AP3441/L: W-DFN2020-8
- AP3445/L: SOT236
Applikationen
- DC/DC-Spannungsnachregelung
- Set-Top-Boxen
- Notebook-Computer
- Tablets
Broschüren
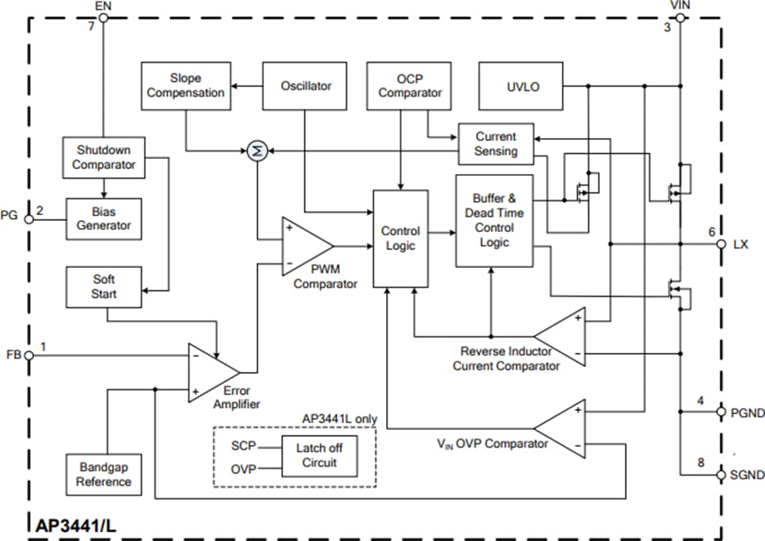
AP3441/L Blockdiagramm
AP3445/L Blockdiagramm
Applikationsdiagramme
View Results ( 3 ) Page
| Teilnummer | Verpackung/Gehäuse | Ausgangsstrom | Datenblatt |
|---|---|---|---|
| AP3445LW6-7 | SOT-26-6 | 2 A | ![]() |
| AP3441LSHE-7B | DFN-2020-8 | 3 A | ![]() |
| AP3441SHE-7B | DFN-2020-8 | 3 A | ![]() |
Veröffentlichungsdatum: 2019-02-12
| Aktualisiert: 2023-07-17

