Diodes Incorporated AH396xQ Automotive-Dual-Hall-Effekt-Verriegelungen
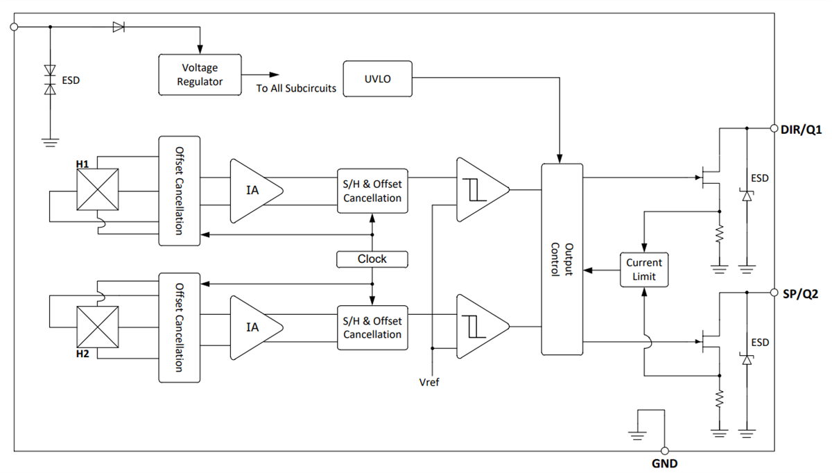
Diodes Incorporated AH396xQ Automotive-Dual-Hall-Effekt-Verriegelungen sind Hochspannungssensoren, die mit einer genauen Geschwindigkeits- und Richtungserkennung ausgelegt sind. Diese Dual-Hall-Verriegelungen bieten eine temperaturkompensierte Stromversorgung für interne Schaltungen mit spannungsstabilisierter Architektur und einem internen Bandlückenregler. Die AH396xQ Verriegelungen werden in einem Versorgungsspannungsbereich von 2,7 V bis 27 V und einem Temperaturbereich von -40 ° °C bis 125 ° °C betrieben. Diese Verriegelungen bieten einen Batterie-Verpolungsschutz, einen Überspannungsschutz und einen UVLO-Schutz. Die AH3965/AH3966/AH3967 Verriegelungen bieten Geschwindigkeits- und -Richtungsausgänge, während der AH3968 zwei unabhängige Ausgänge bietet.Diese Kfz-Verriegelungen sind bleifrei, halogenfrei, antimonfrei, vollständig RoHs-konform und AEC-Q100/101/104/200-qualifiziert. Typische Applikationen umfassen Industriemotoren, Weißware, Pumpen, Drehzahl- und Richtungserkennung, lineare Geschwindigkeits- und Richtungserkennung und Winkelpositionserkennung.
Merkmale
- Geschwindigkeits- und Richtungsausgang (AH3965/AH3966/AH3967) und dual-Ausgänge (AH3968)
- Breiter Versorgungsspannungsbereich: 2,7 V bis 27 V
- Chopper-stabilisiertes Design bietet:
- Hervorragende Temperaturstabilität
- Minimaler Schaltpunkt-Drift
- Verbesserte Beständigkeit gegen Belastungen
- Batterie-Verpolungsschutz
- Überspannungsschutz
- UVLO-Schutz
- HBM = 5 kV, CDM = 2 kV Hohe ESD-Bewertung
- Betriebstemperaturbereich -40 °C bis 125 °C
- Blei, halogen– und antimonfrei
- RoHs-konform
Applikationen
- Industriemotoren
- Weißware
- Pumpen
- Drehzahl- und Richtungserkennung
- Lineare Geschwindigkeits- und Richtungserkennung
- Winkelpositionserkennung
Applikations-Schaltungs-Diagramm
Funktionales Blockdiagramm
Veröffentlichungsdatum: 2023-08-09
| Aktualisiert: 2023-08-21
