Diodes Incorporated AP33771C USB Type-C® PD 3.1 Senkencontroller

Die AP33771C USB Type-C ® PD 3,1 Senkencontroller   von Diodes sind hochintegrierte Bauteile, die einen erweiterten Leistungsbereich (EPR)/einstellbare Spannungsversorgung (AVS) bis zu 28 V und einen Standard-Leistungsbereich (SPR)/programmierbare Stromversorgung (PPS) bis zu 21 V unterstützen. Die Bauteile zielen auf DC-Leistungsanforderungen/-Steuerung für Typ-C-Steckverbinder-ausgestattete Bauteile (TCDs) über einfache externe Widerstandseinstellungen ab. Für eine einfache TCD ohne System-MCU initiiert der AP33771C die gewünschte Leistungsanforderung, indem er passende Widerstandswerte des VSEL-Pins (Spannung) und des ISEL-Pins (Strom) nach dem Einschalt-Reset (POR) interpretiert.

Die AP33771C Senken-Controller von Diodes Inc basieren auf dem Hochspannungsprozess und bieten einen Kurzschutz zwischen den CC1/CC2 Pins und benachbarten Hochspannungs-Pins bis zu 34 V. Integrierte Smart-Firmware bietet umfassende Sicherheitsschutzsysteme, einschließlich Überspannungsschutz (OVP), Unterspannungsschutz (UVP), Überstromschutz (OCP) und Feuchtigkeitserkennung zwischen DP und DN. Eine LED-Anzeige wird verwendet, um den PD-Leistungsverhandlungsstatus anzuzeigen. Eine automatische Kabelspannungsabfall-Kompensation ist implementiert, um praktische Nutzungssituationen abzudecken. Inzwischen kann der AP33771C die Einfügungsausrichtung der Type-C-Befestigung anzeigen.

Merkmale

  • USB PD 3.1 v1.6 zertifiziert mit TID: 9960
  • Betriebsspannungsbereich von VCC: 3 V bis 31 V
  • Unterstützt PD 3.1 EPR/AVS bis zu 28 V und SPR/PPS bis zu 21 V
  • Spannungs-/Stromauswahl über Widerstandseinstellungen
  • Unterstützt FLIP-Anzeige der Type-C-Befestigung
  • Unterstützt OVP mit Hard-Reset und automatischem Neustart
  • Unterstützt UVP und OCP mit Ausgangsleistungsabschaltung
  • Treiber für Ausgangsfreigabe-nMOS-Schalter
  • Unterstützt die Funktion bei leerem Akku
  • Automatische Kabelspannungsabfall-Kompensation
  • VBUS-Kurzschluss-Sicherung auf CC1/CC2-Pins bis zu 34 V
  • Feuchtigkeitserkennung zwischen DP und DN
  • LED-Anzeige für verschiedene Verhandlungsergebnisse
  • Benutzerfreundlich
  • Vollständig RoHS-konform und völlig bleifrei
  • Halogen- und antimonfreies umweltfreundliches Bauteil

Applikationen

  • USB Type-C-Steckverbinder mit batteriebetriebenen Bauteilen
  • USB Type-C-Steckverbinder mit DC-Leistungs-Eingabegeräten
  • USB PD 3.1 Tester

Typische Systemkonfiguration

Diodes Incorporated AP33771C USB Type-C® PD 3.1 Senkencontroller

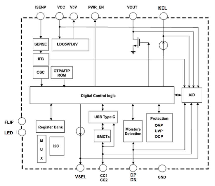
Funktionales Blockdiagramm

Blockdiagramm - Diodes Incorporated AP33771C USB Type-C® PD 3.1 Senkencontroller
Veröffentlichungsdatum: 2024-09-30 | Aktualisiert: 2024-11-01