Diodes Incorporated AP53782 USB PD DRP Regler mit I2C Schnittstelle
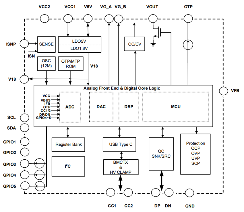
Der Diodes Inc. AP53782 USB Power Delivery (PD) Dual-Role-Leistungsregler (DRP)-Regler ist ein hochintegrierter USB Type-C® PD3.1 DRP-Regler mit einer I2C-Schnittstelle zur flexiblen Systemsteuerung. Die Diodes Inc. AP53782 unterstützt Extended Power Bereich (EPR)/Adjustable Spannung Supply (AVS) bis zu 28 V und Standard Power Bereich (SPR)/programmierbarer Power Supply (PPS) bis zu 21 V, ideal für Applikationen, die eine dynamische Spannungs- und Stromaushandlung erfordern.Der AP53782 ist für den Betrieb mit einem externen MCU über I2C (SCL, SDA) und Interrupt-Pins ausgelegt und ermöglicht die präzise Steuerung von Leistungsrollen. Über I2C-Befehle kann der Host-MCU das Bauteil als Senke konfigurieren, um bestimmte Request Data Objects (RDO) von einer PD3.1-konformen Quelle anzufordern, oder als Quelle, um Power Data Objects (PDO) für mit einem Type-C-Anschluss ausgestattete Bauteile bereitzustellen.
Der AP53782 unterstützt QC2.0/3.0 Protokolle, den Modus für den Batteriestillstand und liefert VFB-Rückmeldung für externe DC/DC-Controller während der Leistungsverhandlung. Der Regler integriert Rp/Rd Endenabschluss- Widerstände und DRP Steuerschalter und arbeitet von 3,6 V bis 28 V mit einem Low-Side Strommessungs- Topologie. Der Stromverbrauch im Standby-Modus ist mit 50 µA minimal und erfüllt damit die Anforderungen batteriebetriebener Bauteile.
Der AP53782 basiert auf einem Hochspannungsprozess und verfügt über fortschrittliche Schutzfunktionen wie Kurzschlussschutz an den CC-Pins bis einschließlich 34 V und den DP/DN-Pins bis einschließlich 24 V. Intelligente FirmWare bietet umfassende Sicherheitsmechanismen, darunter Überspannungsschutz (OVP), Unterspannungsschutz (UVP), Überstromschutz (OCP) und Feuchtigkeitserkennung für den USB- Steckverbinder. Zu den weiteren Funktionen gehören Dual -Gate-Treiber für VBUS nMOS- Schalter, VBUS/VOUT Entladung und ein automatischer Neustart nach Defekten.
Der AP53782 ist nach USB PD3.1 v1.8 (TID: 11689) zertifiziert, vollständig RoHs-konform und halogenfrei und somit eine zuverlässige und umweltfreundliche LÖSUNG für moderne USB Type-C Applikationen.
Merkmale
- Zertifiziert nach USB PD3.1 v1.8 mit TID: 11689
- Unterstützt autonome DRP-Steuerung
- Unterstützt EPR/AVS bis zu 28 V mit 100 mV/Schritt
- Unterstützt SPR bis zu 21 V mit 20 mV/Schritt und 50 mA/Schritt
- Stromverbrauch im Ruhezustand von nur 50 µA
- Unterstützt Statusregister für die Systemüberwachung und -steuerung
- Unterstützt I2C-Befehle für PDO- und RDO-Auswahlen
- Unterstützt I2C-Befehle für einen externen MCU zur Überwachung und Steuerung
- Unterstützt QC2.0/3.0 Ableitvorrichtung/Quelle
- Unterstützt Dual-Gate-Treiber für VBUS nMOS Schalter
- Unterstützt VFB-Feedback über den Strom-DAC für externe DC/DC
- Betriebsspannungsbereich von 3,6 V bis 28 V mit Strommessung an der Low-Side
- Unterstützt VBUS- und VOUT-Entladung
- Unterstützt den Modus für eine leere Batterie
- Unterstützt OVP/UVP/OCP mit automatischem Neustart
- Unterstützt die Feuchtigkeitserkennung für den USB Steckverbinder
- Bis zu 34 V VBUS-Kurzschlussschutz an den CC1/CC2 Pins, bis zu 24 V an den DP/DN Pins
- Oberflächenmontierbares WQFN-24-Gehäuse
- Vollständig RoHS-konform und völlig bleifrei
- Gerät ohne Halogene und Antimon, umweltfreundliches Gerät
Applikationen
- Powerbanks (Ladegeräte)
- Elektrowerkzeuge
- Drahtlose Lautsprecher
- Elektrofahrräder
- POS- Anschlüsse
- Tragbare Displays
Technische Daten
- Versorgungsspannungsbereich von 3,6 V bis 28 V
- 2,5 mA Betriebsversorgungsstrom
- 3 V Betriebsversorgungsspannung
- Wärme-
- Widerstand von 29,6 °C/W von der Verbindungsstelle zur Umgebung
- Widerstand von 20,6 °C/W von der Verbindungsstelle zum Gehäuse (Oberseite)
- 11,2 °C/W Widerstand von der Verbindung zur Platine
- 0,4 °C/W Kennwert von der Verbindung zur Oberseite
- 11,4 °C/W Kennwert von der Verbindung zur Oberseite
- 6,0 °C/W Widerstand von der Verbindung zum Gehäuse (unterer Teil)
- ESD-Bewertungen
- Maximales Human Body Model (HBM) von 2 kV
- 750 V maximaler CDM-Wert (CDM = Charged-Device Model)
- Betriebsumgebungstemperaturbereich von -40 °C bis +85 °C
- Betriebstemperatur-Verbindungsbereich zwischen -40 °C und +125 °C
- Maximale Löttemperatur für 10 s: +300 °C
Development Tool
Typische Applikationsschaltung
Funktionales Blockdiagramm
