Diodes Incorporated AP61100/AP61102 Synchroner Abwärtswandler
Der synchrone Abwärtswandler AP61100/AP61102 von Diodes Incorporated ist ein automotive-konformer Wandler mit einem breiten Eingangsspannungsbereich von 2,3 V bis 5,5 V. Dieser Wandler integriert einen 110-mΩ -High-Side-Leistungs-MOSFET und einen 80-mΩ -Low-Side-Leistungs-MOSFET für eine DC/DC-Abwärtswandlung mit hohem Wirkungsgrad. Der Wandler AP61100/AP61102 von Diodes Incorporated arbeitet mit einer COT-Steuerung (Constant On-Time, COT), die ein schnelles Einschwingverhalten, eine einfache Schleifenstabilisierung und eine niedrige Ausgangsspannungswelligkeit ermöglicht. Dieser Wandler ist in einem SOT563-Gehäuse erhältlich. Zu den typischen Applikationen gehören dezentrale 5-V-Bus-Stromversorgungen für Kraftfahrzeuge, Infotainmentsysteme für Kraftfahrzeuge, Kombiinstrumente für Kraftfahrzeuge, Telematiksysteme für Kraftfahrzeuge und erweiterte Fahrerassistenzsysteme.Merkmale
- Integriert einen 110 mΩ High-Side-Leistungs-MOSFET und einen 80 mΩ Low-Side-Leistungs-MOSFET
- Mit den folgenden Ergebnissen AEC-Q100-qualifiziert:
- Bauteiltemperaturklasse 1: -40 °C bis 125 °C TA
- HBM-ESD-Bauteilklassifikation Stufe H3A
- CDM-ESD-Bauteilklassifikation Stufe C5
- Bietet eine DC/DC-Abwärtswandlung mit hohem Wirkungsgrad
- Übernimmt eine COT-Steuerung (Constant On-Time, COT), um Folgendes zu ermöglichen:
- Schnelles Einschwingverhalten
- Einfache Schleifenstabilisierung
- Niedrige Ausgangsspannungswelligkeit
- Programmierbarer Betriebsmodus über EN
- Impulsfrequenzmodulation (PFM)
- Pulsbreitenmodulation (PWM) unabhängig vom Ausgang
- Power-Good-Anzeige
- AP61102Q
- Schutzschaltung
- Unterspannungssperre (UVLO)
- VIN -Überspannungsschutz (OVP)
- Spitzenstrombegrenzung
- Talstrombegrenzung
- Übertemperaturschutz
Technische Daten
- Großer Eingangsspannungsbereich: 2,3 V bis 5,5 V
- Niedriger Ruhestrom (PFM): 15 µA
- Dauerausgangsstrom: 1 A
- Ausgangsspannungsbereich: 0,6 V bis 3,6 V
- Referenzspannung: 0,6 V ±2 %
- Schaltfrequenz: 2,2 MHz (VIN= 5 V und VOUT= 1,8 V)
- Wirkungsgrad von bis zu 89 % bei einer Leichtlast von 5 mA
Applikationen
- Verteilte Automotive-Bus-Stromversorgungen: 5 V
- Automotive-Infotainment
- Automotive-Kombiinstrumente
- Fahrzeug-Telematik
- Erweiterte Fahrerassistenzsysteme
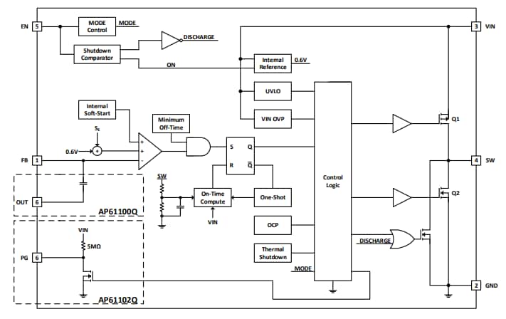
Funktionales Blockdiagramm
Veröffentlichungsdatum: 2020-06-09
| Aktualisiert: 2024-07-31
