Diodes Incorporated AP6120x 2 A Synchrone Abwärtswandler
Die 2A-Synchron-Abwärtswandler AP6120x von Diodes Incorporated haben einen weiten Eingangsspannungsbereich von 2,3 V bis 5,5 V und einen niedrigen Ruhestrom (IQ). Diese Wandler enthalten einen 110-mΩ-High-Side-Leistungs-MOSFET und einen 80-mΩ-Low-Side-Leistungs-MOSFET, die eine hocheffiziente DC/DC-Abwärtswandlung ermöglichen. Die AP6120x-Wandler lassen sich durch Minimierung der Anzahl externer Komponenten leicht einsetzen, um ein schnelles Einschwingverhalten, eine einfache Schleifenstabilisierung und eine geringe Ausgangsspannungswelligkeit zu erzielen. Zu den typischen Applikationen gehören verteilte Eingangs-Bus-Stromversorgungen, Weißware, Küchenkleingeräte, FPGA-, DSP- und ASIC-Versorgungen, Netzwerk-Videokameras, drahtlose Router und Unterhaltungselektronik.Merkmale
- Eingangsspannungsbereich (VIN): 2,3 V bis 5,5 V
- 0,6 V bis 3,6 V Ausgangsspannungsbereich (VOUT)
- 2 A Dauerausgangsstrom
- Referenzspannung: 0,6 V ±2 %
- Niedriger Ruhestrom: 19 µA
- Schaltfrequenz: 1,3 MHz
- Bis zu 89 % Effizienz bei 5 A Leichtlast
- AP61202 und AP61203 Stromversorgungsanzeige
- Optionen für den Betriebsmodus:
- AP61200 und AP6120 Impulsfrequenzmodulation
- AP61201 und AP61203 Kraft-Pulsweitenmodulation
- Schutzschaltung:
- Unterspannungssperre (UVLO)
- VIN -Überspannungsschutz (OVP)
- Spitzenstrombegrenzung
- Talstrombegrenzung
- Thermische Abschaltung
Applikationen
- Verteilte Bus-Stromversorgungen: 5 V
- Küchenkleingeräte
- Weißware
- FPGA-, DSP- und ASIC-Versorgungen
- Netzwerk-Videokameras
- Drahtlose Router
- Unterhaltungselektronik
- Universal-Punktlast
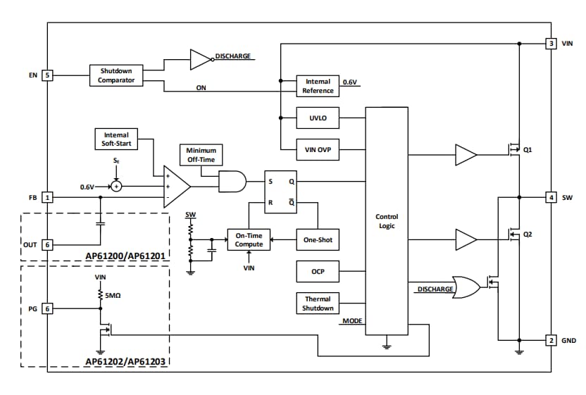
Blockdiagramm
Diagramm Wirkungsgrad vs. Ausgangsstrom
Applikationsschaltungen
Veröffentlichungsdatum: 2022-04-13
| Aktualisiert: 2024-02-13
