Diodes Incorporated PI3EQX2024 USB 3.2 Redriver

Der PI3EQX2024 USB 3.2 ReDriver von Diodes Incorporated ist ein stromsparender, hochleistungsfähiger, linearer Gen 2x2 ReDriver™, der speziell für das USB-3.2-Protokoll entwickelt wurde. Dieses Gerät bietet eine programmierbare Entzerrung und eine flache Verstärkung zur Optimierung der Leistung über verschiedene physikalische Medien, indem es Intersymbol-Interferenzen reduziert. Der PI3EQX2024 ReDriver verfügt über eine serielle 5 Gbps- und 10-Gbps-Verbindung mit einem linearen Equalizer und unterstützt zwei 100 Ω differentielle CML-Daten-I/Os. Diese E/As verbinden den Protokoll-ASIC mit einer Switch-Fabric, entweder über Kabel oder durch Erweiterung der Signale über andere Datenpfade auf der Plattform des Benutzers. Der PI3EQX2024 verfügt außerdem über eine automatische Empfängererkennungsfunktion und wird in einem 34-poligen UQFN-Gehäuse (2,5 x 4,5 mm, ZTF34) geliefert. Idealerweise wird dieses Gerät in Laptops, Computern, Smartphones und Speicheranwendungen eingesetzt.

Merkmale

  • USB-3.2-Gen-2- und Gen-1-kompatibel
  • USB-3.2-Gen-2x2-kompatibel
  • Link mit 5 GBit/s und 10 GBit/s und linearem Equalizer
  • Pin-einstellbare Empfängerentzerrung
  • Pin-einstellbare flache Gain
  • Einzelne Versorgungsspannung von 3,3 V
  • Differential-CML-I/Os von 100 Ω
  • Vier differenzielle 10-GBit/s-Signalpaare
  • Automatischer Schlummermodus für adaptives Energiemanagement
  • Automatische Empfängererkennung
  • Patentierte Technologie
  • Vollständig RoHs-konform und bleifrei
  • Halogen- und antimonfrei
  • Bleifreies und umweltfreundliches Gerät
  • Gehäuse mit 34-Pin, UQFN 2,5 mm x 4,5 mm (ZTF34)

Applikationsübersicht

Diodes Incorporated PI3EQX2024 USB 3.2 Redriver

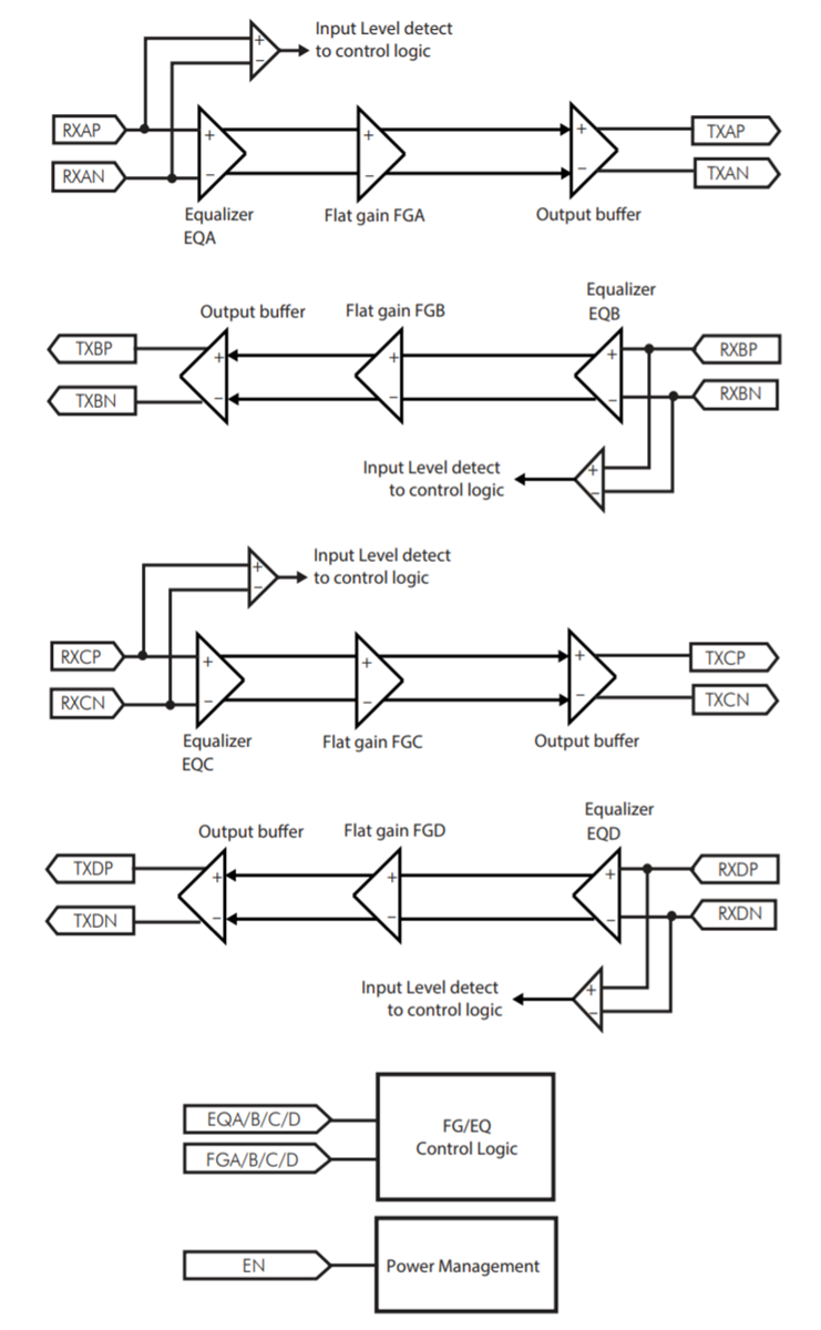
Blockdiagramm

Blockdiagramm - Diodes Incorporated PI3EQX2024 USB 3.2 Redriver
Veröffentlichungsdatum: 2022-03-10 | Aktualisiert: 2022-05-30