ESS Technology ES9312Q SABRE® Dual Ultra-Low Noise Regulator
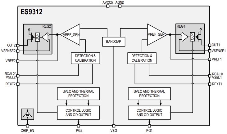
ESS Technology ES9312Q SABRE® Dual Ultra-Low Noise Regulator is a second-generation regulator designed to supply the reference voltages to maximize Digital to Analog Converter (DAC) and Analog to Digital Converter (ADC) performance. This noise regulator features 1µVrms low output noise from 10Hz to 100kHz to achieve excellent line and load regulation for output current to maintain peak performance. The ES9312Q ultra-low noise regulator includes an internal voltage fixed mode that supports +1.2V/+1.8V/+3.3V/+4.5V presets to help simplify device configuration for standard voltages. Typical applications include SABRE® DCA supply in calibration mode with a calibration resistor and general ultra-low noise supply for DACs and ADCs.The ES9312Q SABRE regulator includes overcurrent, undervoltage, overtemperature warning, and protection. This ultra-low noise regulator DAC achieves excellent performance in maintaining high DNR and THD+N measurements. The ES9312Q dual ultra-low noise regulator comes in a small 16-pin, 3mm x 3mm QFN package.
Features
- Second-generation regulator
- 1µVrms low output noise from 10Hz to 100kHz
- Over-current, under-voltage, over-temperature warning, and protection
- Internal voltage fixed mode supports +1.2V/+1.8V/+3.3V/+4.5V presets
- Ultra-low noise regulated to 180mA per output at multiple voltage levels
- Calibration mode for SABRE DACs
- Small 16-pin, 3mm x 3mm QFN package
Applications
- SABRE® DCA supply in calibration mode with calibration resistor
- General ultra-low noise supply for DACs and ADCs
Functional Block Diagram
Veröffentlichungsdatum: 2024-12-13
| Aktualisiert: 2025-01-17
