Infineon Technologies AIROC™ Wi-Fi® und BLUETOOTH® Evaluierungskit
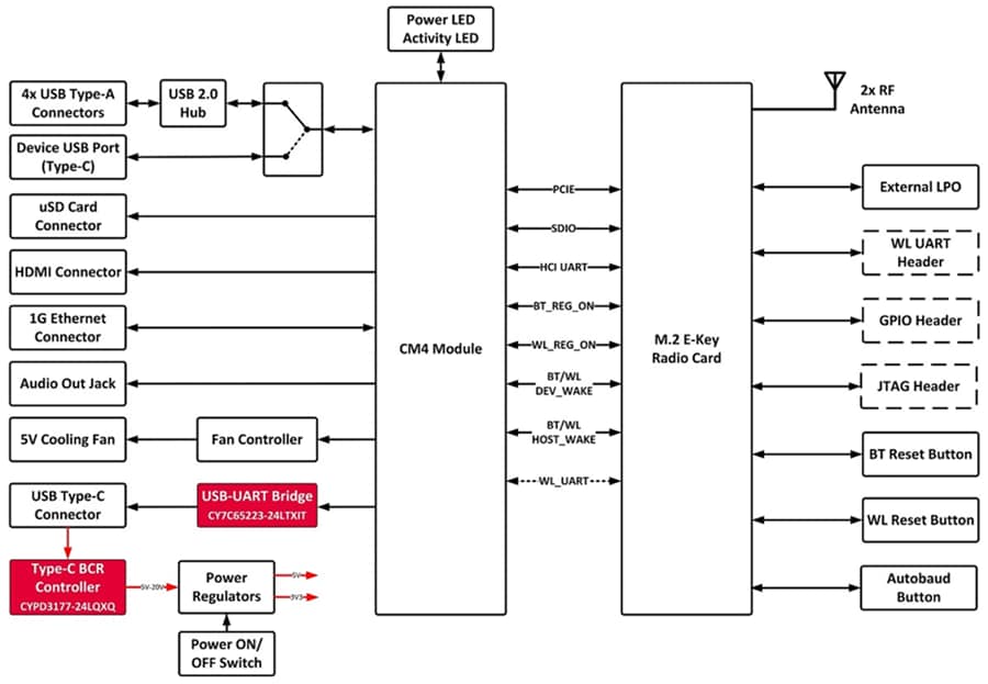
Das Wi-Fi®- und BLUETOOTH®-Evaluierungskit AIROC ™ (CYW9RPI55513-EVK) von Infineon Technologies ist ein ausgezeichnetes Tool, das Entwicklern die Evaluierung, das Prototyping und die Entwicklung von verschiedenen Internet-of-Things-(IoT)- und Audio-Applikationen mit den Wi-Fi/Bluetooth-Kombi-Chipsätzen von Infineon auf der Linux®-Plattform ermöglicht. Das Kit basiert auf dem Raspberry Pi Compute Module 4 Lite und hilft Benutzern, das Betriebsverhalten der Combo-Chipsätze von Infineon zu evaluieren und Applikationen zu erstellen, die deren Fähigkeiten nutzen.Das Evaluierungskit CYW9RPI55513-EVK unterstützt Schnittstellen des Typs PCIe® (Peripheral Component Interconnect Express) und SDIO (Secure Digital Input/Output) für Wi-Fi und HCI UART für Bluetooth, wodurch der Nutzer verschiedene Kombi-Chipsätze über den Standard-Schnittstellenverbinder M.2 E-Schlüssel auf dem Basisboard an den Host senden kann. Der Raspberry Pi CM4-Host befindet sich auf dem Basisboard. Zur besseren Zugänglichkeit für den Nutzer sind außerdem ein HDMI-Anschluss, vier USB-Typ-A-Steckverbinder, ein 1G- Ethernet-Anschluss und eine Audioausgangsbuchse auf dem Basisboard vorhanden.
Das Kit beinhaltet ein Ezurio Sona™ IF513 M.2 Modul mit dem CYW55513 Chipsatz (mit Tri-Band Wi-Fi 6E, 802.11 a/b/g/n/ac/ax und Bluetooth 5.4). Der Nutzer kann das Ezurio Sona IF513-Modul durch ein beliebiges anderes M.2-Funkmodul mit dem Combo-Chipsatz von Infineon für die Evaluierung und Entwicklung ersetzen. Zusätzlich zum Austausch des M.2-Funkmoduls wird ein neues Image benötigt, um das neue M.2-Funkmodul zu aktivieren.
Merkmale
- Wi-Fi 6/6E
- Bluetooth 6.0
- Vorinstalliertes Linux Image
- Dipolantenne
- Ezurio Sona IF513-Modul (basierend auf M.2)
- Leistungsmessfunktionen
- Audiowiedergabefunktionen
- Fernzugriff über UART-Anschluss
- Einfache Evaluierung von Wi-Fi 6/6E
- Prototyping und Entwicklung
- Vertraute Linux-Entwicklungsumgebung
- AIROC Bluetooth-Stapel
Applikationen
- Smart Homes/IoT (Smart Homes, IP-Kameras, Türschlösser, Haushaltsgeräte, Drucker, Lautsprecher, Gaming und Kameras)
- Wearables (Smartwatches und Fitnessbänder)
- Industrie/Medizin (Konferenzsysteme, automatische Stromzähler und Zahlungssysteme)
Lieferumfang Kit
- CYW9RPI55513-EVK Evaluierungsboard (mit Raspberry-Pi CM4 Host-Modul und CYW55513 Funk-M.2-Karte)
- Zwei Triband-Dipolantennen
- SMA-zu-U.FL-Koaxialkabelsatz (zwei)
- USB-Type-C®-zu-Type-C-Kabel
- Kurzanleitung
Blockdiagramm
