Infineon Technologies IR2233/IR2235 MOSFET- und IGBT-Antriebe
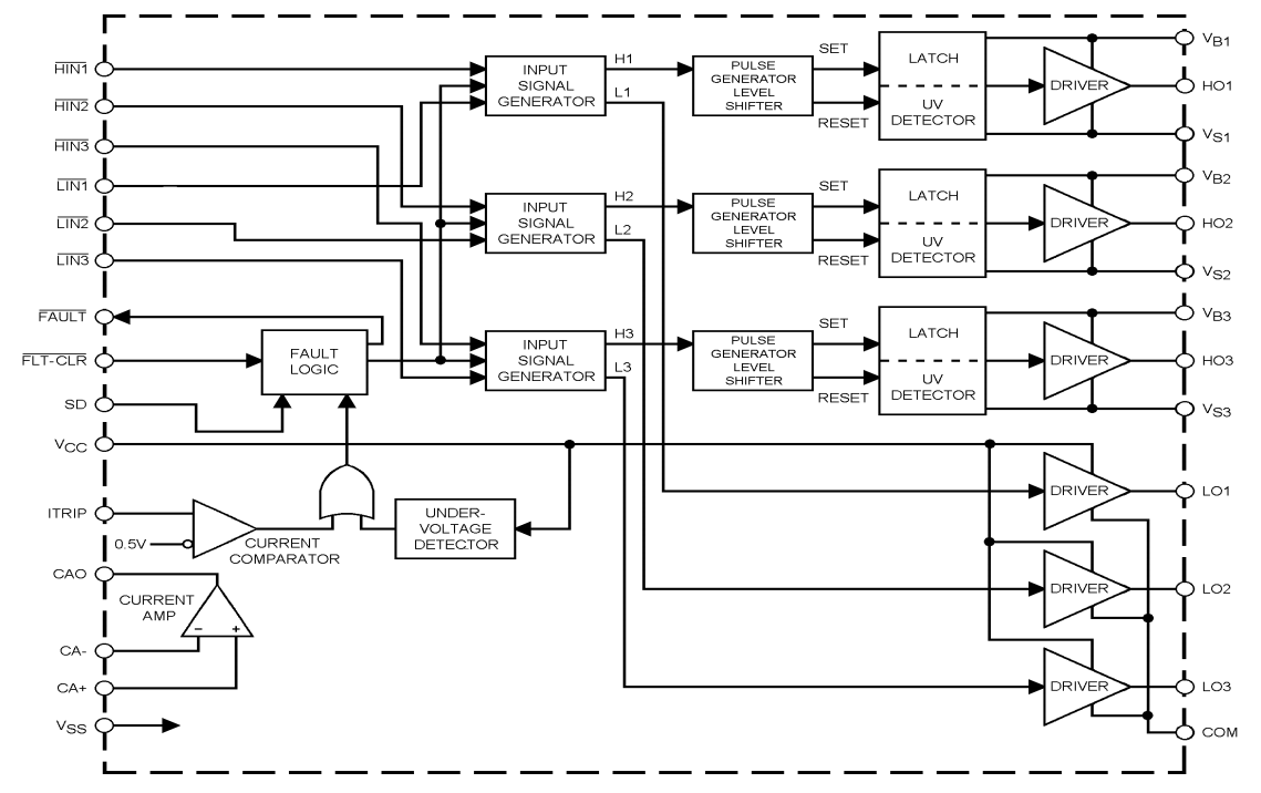
Die IR2233/IR2235 MOSFET- und IGBT-Treiber von Infineon Technologies weisen drei unabhängige High- und Low-Side-referenzierte Ausgangskanäle für Dreiphasen-Applikationen auf. Die proprietäre HVIC-Technologie ermöglicht eine robuste monolithische Bauweise. Logikeingänge sind mit CMOS- oder LSTTL-Ausgängen bis zu einer 2,5 V-Logik kompatibel. Ein unabhängiger Operationsverstärker bietet eine analoge Rückkopplung des Brückenstroms über einen externen Strommesswiderstand.Merkmale
- Potenzialfreier Kanal, der für den Bootstrap-Betrieb ausgelegt ist
- Vollständig funktionsfähig bis zu +1.200 V
- Vollständig funktionsfähig bis zu einer +600-V-Option (IR2135) verfügbar
- Tolerant gegenüber negativer Transientenspannung
- dV/dt-immun
- Die Gate-Treiber-Versorgung reicht von 10 V/12 V bis 20 V DC und bis zu 25 V für Transiente
- Unterspannungssperre für alle Kanäle
- Überstrom-Abschaltung schaltet alle sechs Treiber aus
- Drei unabhängige Halbbrückentreiber
- Angepasste Laufzeitverzögerung für alle Kanäle
- Kompatibel mit 2,5-V-Logikschaltung
- Phasenversatz-Ausgänge mit Eingängen
Applikationen
- Haushaltsgeräte
- Motorsteuerung und -antriebe
- Robotik
- Haus- und Gebäudeautomatisierung
- Industrie-Heizung und -Schweißen
- Multikopter und Drohnen
Blockdiagramm
Veröffentlichungsdatum: 2020-02-03
| Aktualisiert: 2024-09-26
