Infineon Technologies LITIX™ Innenraum-LED-Treiber

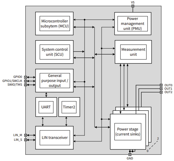
Infineon Technologies LITIX™ Interior LED-Treiber für Fahrzeug- Ambientbeleuchtung ist ein dreikanaliges Gerät mit integrierten und geschützten Ausgangs- Stufen. Dieser Treiber ist für die Steuerung von RGB- LEDs mit einem Strom von bis zu 51,5 mA als lineare Ableitvorrichtung (LCS) ausgelegt. Für höhere Lastströme können die Leistungsstufen parallel konfiguriert werden und die einzelnen Ausgänge sind über einen 5-Bit- Stromsollwert konfigurierbar. Der LITIX™ LED-Treiber verwendet die LIN-Schnittstelle zur Programmierung (über Bootloader), Steuerung und Diagnoserückmeldung. Dieser Treiber verfügt über 32 kB On-Chip-Flash-Speicher, 3 kB On-Chip-SRAM und 576Bytes 1000 TP On-Chip-Speicher.

Merkmale

  • 3-Kanal-Treiber (jeweils bis zu 51,5 mA)
  • LIN-Schnittstelle mit LIN-Autoadressierung
  • 32-Bit-Core ARM® Cortex®-M23
  • 32 kB On-Chip-Flash und 3 kB On-Chip-SRAM
  • 576Bytes 1000 TP On-Chip-Speicher
  • 11-Bit-ADC für 0 V bis 8 V mit differentieller Messung
  • PWM-Engine mit 16-Bit bei 610 Hz Auflösung
  • Boot-ROM für Start-FW-Flashroutinen
  • Oszillator auf dem Chip
  • Debug mit 2-Draht-SWD
  • 2 zusätzliche GPIOs
  • Kleines gekapseltes Gehäuse (TFDSO-16)
  • Leicht zu programmierende, bekannte MCU
  • Einfache und stabile Softwareentwicklung
  • Maximale Applikation
  • Zusätzliche Sens- und Steuerungsfunktionen

Blockdiagramm

Blockdiagramm - Infineon Technologies LITIX™ Innenraum-LED-Treiber

Typische Applikations-Schaltung

Applikations-Schaltungsdiagramm - Infineon Technologies LITIX™ Innenraum-LED-Treiber
Veröffentlichungsdatum: 2025-09-23 | Aktualisiert: 2025-10-13