Infineon Technologies TLE8082ES Begleit-IC
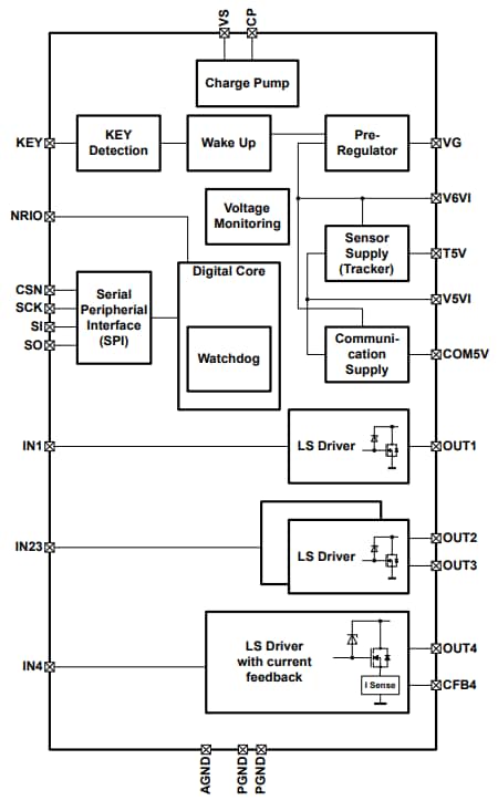
Der Infineon Technologies TLE8082ES Begleit-IC unterstützt OBDII-konforme EURO5/BHARATVI 2-/3-Rad- Verbrennungsmotorsysteme. Der IC unterstützt Systeme, die sich auf EFI-Technologien (Enhanced Electronic Fuel Injection, EFI) konzentrieren. Das Bauteil ist gegen Übertemperatur und Überstrom geschützt und bietet Diagnosefunktionen für jede integrierte Leistungsstufe. Der TLE8082ES enthält einen Vorregler für externe FETs, eine Sensorversorgung, eine Kommunikationsversorgung für On-Board-Transceiver, eine SPI-Schnittstelle und vier Leistungsstufen zur Ansteuerung von verschiedenen Lastarten in Motormanagementsystemen.Merkmale
- Netzteile
- Spannungs-Vorregler mit externem FET
- 5-V-Sensorversorgung (Verfolgung von 5-V-Versorgungseingang)
- 5-V-Kommunikationsversorgung (Verfolgung von 5-V-Versorgungseingang)
- Permanente Versorgungsfunktion
- Dedizierter KEY-Eingang
- Nachlauf-Funktionsumfang
- Fenster-Watchdog-Modul
- 4 Low-Side-Treiber für induktive Lasten mit Übertemperatur- und Überstromschutz sowie Off-Diagnosefunktionen für offene Last/Kurzschluss zu GND
- 3 Low-Side-Leistungsstufen
- 1 Low-Side-Leistungsstufe mit Strommessfunktion (O2-Heizung)
- Serielle Peripherieschnittstelle (SPI)
- Umweltfreundliches Produkt (RoHS-konform)
Applikationen
- Motorräder, Zwei- und Dreiräder sowie Roller
- Wasserfahrzeuge, Marinefahrzeuge und Jet-Skis
- Schneemobile
Blockdiagramm
Veröffentlichungsdatum: 2021-09-09
| Aktualisiert: 2022-03-11
