![]() | ||
![]() Produktliste anzeigen Weitere Ressourcen Datenblatt IS62WVS0648FBLL Datenblatt IS62WVS1288FBLL Datenblatt IS62WVS2568FBLL
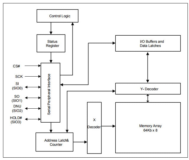
ISSI IS62WVS Serielle SRAMsDie seriellen SRAMs IS62WVS von ISSI werden unter Verwendung von Hochleistungs-CMOS-Technologie hergestellt, um 4µA Ruhestrom zu liefern. Diese SRAMs sind 512K, 1M oder 2M Bit seriell statische RAMs, organisiert als 64K, 128K oder 256K Byte von jeweils 8 Bits. Die seriellen SRAMs IS62WVS bieten eine Taktrate von 20 MHz, eine SPI-kompatible (Serial Peripheral Interface) Busschnittstelle und unterstützen unbegrenzte Lese- und Schreibvorgänge im Speicherarray. Die zusätzlich unterstützten Schnittstellen sind eine SDI (Serial Dual Interface) und eine SQI (Serial Quad Interface) für schnellere Datenratenanforderungen. Diese SRAMs arbeiten innerhalb eines Temperaturbereichs von -40 ºC bis
| ||
IS62WVS Blockdiagramm![]() | ||
![]() |
Veröffentlichungsdatum: 2017-10-17
| Aktualisiert: 2024-03-05






