Kingbright AAAF5050-MC-K12 Surface Mount LED Lamp

Kingbright AAAF5050-MC-K12 Surface Mount LED Lamp is an intelligent control LED light source that integrates a control circuit and RGB chips. This LED lamp features a data protocol that uses a unipolar NRZ communication mode and a control chip that is integrated with the LED. The AAAF5050-MC-K12 LED provides intelligent protection against reverse connection. The LED lamp includes a 256-level grayscale adjustable circuit, built-in electric reset, power lost reset circuit, and built-in signal reshaping circuit. The AAAF5050-MC-K12 LED operates within a -40°C to +85°C temperature range. This LED lamp offers 5V supply voltage, 1mA static power consumption, and 1.2kHz PWM frequency. The AAAF5050-MC-K12 LED is ideal for use in a full-cover soft light strip, signage applications, and decorative and entertainment lighting.

Features

  • Control circuit and LED share the same power source
  • Data protocol that uses unipolar NRZ communication mode
  • Intelligent protection against reverse connection
  • Built-in electric reset and power lost reset circuit
  • 256-level grayscale adjustable circuit
  • Built-in signal reshaping circuit
  • Cascade port transmission signal by a single line
  • Moisture sensitivity level 3
  • RoHS compliant

Applications

  • Decorative and entertainment lighting
  • Full color soft light strip
  • Commercial and residential architectural lighting
  • Signage applications

Specifications

  • -40°C to +85°C operating temperature range
  • -40°C to +115°C storage temperature range
  • 3.5V to 5.5V supply power voltage range
  • -0.5V to VDD+0.5V input voltage range
  • 120° viewing angle
  • 4000V EST pressure
  • 5V supply voltage
  • 1mA static power consumption
  • 1.2kHz PWM frequency

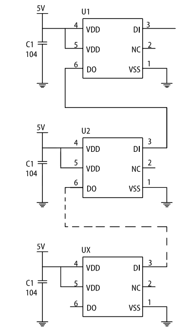
Pin Configuration

Mechanical Drawing - Kingbright AAAF5050-MC-K12 Surface Mount LED Lamp

VSS- Ground

DI- Control data signal input

VDD- Power supply LED

DO- Control data signal output

Application Circuit Diagram

Application Circuit Diagram - Kingbright AAAF5050-MC-K12 Surface Mount LED Lamp

AAAF5050-MC-K12 Available Types

Kingbright AAAF5050-MC-K12 Surface Mount LED Lamp
Veröffentlichungsdatum: 2019-12-11 | Aktualisiert: 2023-12-14