Microchip Technology I2C (2-wire) Serial EEPROMs

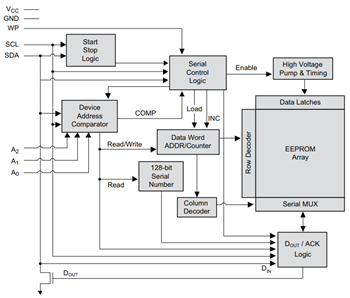
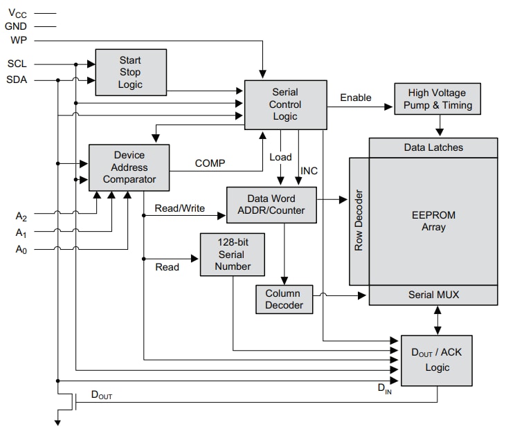
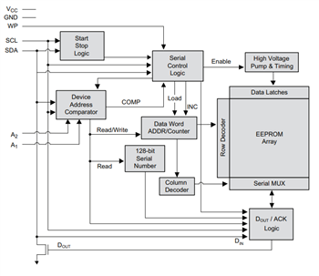
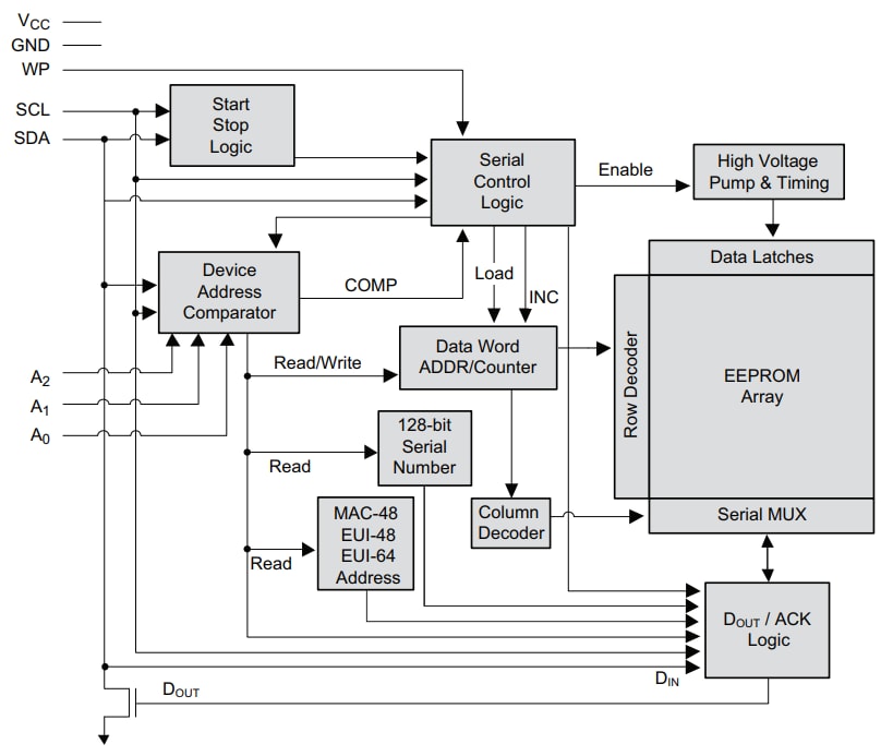
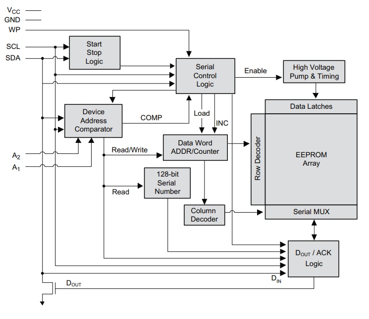
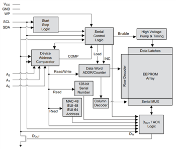
Microchip I2C (2-wire) Serial EEPROMs are compatible byte and page writable Serial EEPROMs designed to provide simple, yet flexible data storage for microcontroller, microprocessor, and SoC solutions. Devices have ultra-high write endurance capabilities allowing for greater than 1 million write cycles to each and every memory location to meet the needs of today’s high write endurance applications. These new devices include a factory-programmed 128-bit serial number which does not consume any of the user read/write area.

Features

  • Low-voltage Operation
    • (VCC = 1.7V to 5.5V)
  • AT24CS01 and AT24CS02
    • Internally Organized as 128 x 8 (1-Kbit) or 256 x 8 (2-Kbit)
  • AT24CS04 and AT24CS08
    • Internally Organized as 512 x 8 (4-Kbit) or 1,024 x 8 (8-Kbit)
  • AT24MAC402 and AT24MAC602
    • Internally Organized as 256 x 8 (2K)
  • I2C-compatible (2-wire) Serial Interface
  • Schmitt Trigger, Filtered Inputs for Noise Suppression
  • Bidirectional Data Transfer Protocol
  • 400kHz (1.7V) and 1MHz (2.5V, 2.7V, 5.0V) Compatibility
  • Write Protect Pin for Hardware Data Protection
  • 8-byte or 16-byte Page Write Mode
    • Partial Page Writes Allowed
  • Self-timed Write Cycle (5ms Max)
  • High-reliability
    • Endurance: 1,000,000 Write Cycles
    • Data Retention: 100 Years
  • Green Package Options (Pb/Halide-free/RoHS-compliant)
    • 8-lead JEDEC SOIC, 8-lead TSSOP, 8-pad UDFN, and 5-lead SOT23
  • Die Sale Options: Wafer Form and Tape and Reel Available

Block Diagrams

Veröffentlichungsdatum: 2013-02-22 | Aktualisiert: 2022-03-11