Microchip Technology dsPIC33CK Digitaler 16-Bit-Signalcontroller
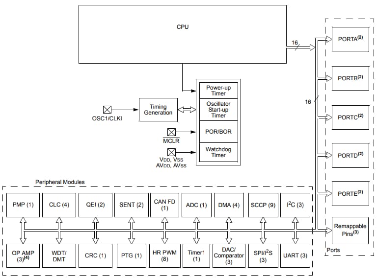
Microchip Technology dsPIC33CK 16-Bit-Digitalsignalcontroller (DSCs) sind zur Integration der Steuerattribute von MCUs mit der Rechenleistung von DSPs in einem einzelnen Core ausgelegt. Diese dsPIC33CK DSCs verfügen über eine 16-Bit-CPU, hochauflösende PWM, flexible CAN-Daten (CAN-FD), einen internen Oszillator, stromsparende Leistungsmanagement-Modi, ein Hochgeschwindigkeits-ADC-Modul und eine Debugger-Entwicklungsunterstützung. Die 16-Bit-CPU besitzt eine modifizierte Harvard-Architektur mit einem erweiterten Befehlssatz und Unterstützung für die digitale Signalverarbeitung (DSP). Die dsPIC33CK DSCs verfügen über einen internen Flash-Programmspeicher, der im Normalbetrieb über den gesamten VDD-Bereich les-, schreib- und löschbar ist. Der Flash-Programmspeicher speichert und verarbeitet den Applikationscode.Die dsPIC33CK DSCs verfügen über eine On-Chip-Phasenregelschleife (PLL) zur Steigerung der internen Betriebsfrequenz auf ausgewählten internen/externen Oszillatorquellen. Der Hilfs-PLL-Taktgeber (Auxilliary PLL, APLL) steigert die Betriebsfrequenz für Peripherien und die ausfallsichere Taktüberwachung (Fail-Safe Clock Monitoring, FSCM) erkennt Taktausfälle und ermöglicht eine sichere Wiederherstellung/Abschaltung der Applikation. Die dsPIC33CK DSCs implementieren zwei Instanzen des Quadratur-Encoder-Schnittstellenmoduls (QEI), das die Schnittstelle zum Inkrementalgeber zur Erhebung von mechanischen Positionsdaten bereitstellt. Das QEI-Modul ermöglicht eine Steuerung mit geschlossenem Regelkreis von Motorsteuerungsgeräten, einschließlich AC-Induktionsmotoren (ACIM) und geschaltete Reluktanz (SR).
Merkmale
- dsPIC33CK 16-Bit-CPU
- Takt-Management:
- Interner Oszillator
- Programmierbare PLLs und Oszillator-Taktquellen
- Referenztaktausgang
- Ausfallsicherer Taktwächter (FSCM)
- Interner Backup-Oszillator
- Stromsparende Leistungsmanagement-Modi
- Hochgeschwindigkeits-PWM:
- 8 PWM-Paare
- Totzeit für ansteigende und abfallende Flanken
- Totzeitkompensation
- Takt-Chopping für Hochfrequenzbetrieb
- Flexible Trigger-Konfiguration für ADC-Auslösung
- Ein Universal-Timer
- Hochgeschwindigkeits-ADC-Modul:
- Bis zu 24 Eingangskanäle
- Dedizierte Ergebnisbuffer für jeden analogen Kanal
- Flexible und unabhängige ADC-Auslöserquellen
- Vier digitale Komparatoren
- Vier Übertastfilter für eine höhere Auflösung
- Bis zu drei Operationsverstärker
- Vier Direct Memory Access (DMA) Kanäle
- Kommunikationsschnittstellen:
- Drei vierdrahtige SPI-/I2S-Module
- Flexibles CAN-Datenmodul (FD)
- Drei I2C-Module mit SMBus-Unterstützung
- Programmierbare zyklische Redundanzprüfung (CRC)
- Paralleler Master-Port (PMP)
- Debugger-Entwicklungsunterstützung:
- Programmierung und Debugging in der Schaltung und Applikation
- Drei komplexe und fünf einfache Breakpoints
- Trace-Buffer und Laufzeituhr
- Taktüberwachungssystem mit Backup-Oszillator
- Deadman-Timer (DMT)
- Fehlerkorrekturcode (ECC)
- Watchdog-Timer (WDT)
- CodeGuard™-Schutz
- ICSP™-Schreib-Verhinderung
- Eingebauter RAM-Speicher-Selbsttest (MBIST)
Videos
dsPIC33CK 16-Bit-DSCs - Blockdiagramm
