Microchip Technology LAN8840 Gigabit-Ethernet-Transceiver
Die LAN8840 Gigabit Ethernet (GbE) Transceiver von Microchip Technology sind integrierte Triple-Speed (10BASE-T/100BASE-TX/1000BASE-T) Ethernet-Transceiver für die physikalische Schicht zur Übertragung und zum Empfang von Daten. Diese TRANSCEIVER bieten Schalter für die Datenübertragung mit 10Mbps/100Mbps/1000Mbps und Reduced Gigabit Media Independent Interface (RGMII) für den direkten Anschluss an RGMII-MACs. Die LAN8840-TRANSCEIVER verfügen über On-Chip-Terminierungswiderstände zur Anzeige von Differenzpaar und Signalqualität. Diese TRANSCEIVER verfügen über RGMII mit 3,3V/2,5V/1,8V-toleranten E/As und unterstützen IEEE 1588v2. Die LAN8840 TRANSCEIVER verfügen über eine Interrupt-Pin-Option, Abschalt- und Stromsparmodi und eine Baseline-Wanderkorrektur. Diese Transceiver bieten eine Wake-On-LAN-Unterstützung (WOL) mit robuster benutzerdefinierter Paketerkennung und programmierbaren LED-Ausgängen für Link, Aktivität und Geschwindigkeit.Die LAN8840 Transceiver vereinfachen das Board-Layout mit On-Chip-Anschlusswiderständen und reduzieren die Boardkosten durch die Integration eines LDO-Controllers. Diese Transceiver werden in einem erweiterten Industrie-Temperaturbereich von -40 °C bis +105 °C betrieben. Die LAN8840 TRANSCEIVER sind ideal für industrielle Steuerungen, Spielekonsolen, IPTV, Breitband-Gateways, Laser-/Netzwerkdrucker, Netzwerkserver und IP-Set-Top-Boxen.
Merkmale
- Single-Chip-Ethernet-Transceiver für 10Mbps/100Mbps/1000Mbps, geeignet für IEEE 802.3-Anwendungen
- On-chip-Anschlusswiderstände für die Differenzialpaare
- Jumbo-Rahmen-Unterstützung von bis zu 16 KB
- Referenztaktausgang: 125 MHz
- Energieerkennungsabschaltmodus für geringeren Stromverbrauch, wenn das Kabel nicht angeschlossen ist
- Wake-On-LAN-Unterstützung (WOL) mit robuster benutzerdefinierter Paketerkennung
- Programmierbare LED-Ausgänge für Link, Aktivität und Geschwindigkeit
- Baseline-Wanderkorrektur
- LinkMD® TDR-basierte Kabeldiagnose zur Identifizierung fehlerhafter Kupferverkabelung
- EtherSynch® Technologie IEEE 1588v2/PTP
- Energieeffiziente Ethernet-Unterstützung (EEE) mit stromsparendem Leerlaufmodus (LPI) und Taktunterbrechung für 100BASE-TX/1000BASE-T
- Sendeamplituden-Reduzierung mit der 10BASE-Te-Option
- Fünf programmierbare LED-Ausgänge für Link, Aktivität und Geschwindigkeit, die LAN8840 Gigabit-Ethernet-Transceiver bieten
- Signalqualitätsanzeige
- MDC/MDIO Management-Schnittstelle für PHY-Registerkonfiguration
- Loopback-Modi für Diagnosefunktionen
- Automatische Erkennung und Korrektur von Paar-Swaps, Paarversatz und Paarpolarität
- Parametrische NAND-Baum-Unterstützung zur Erkennung von Fehlern zwischen Chip-I/Os und Board
- Interrupt-Pin-Option
- Abschalt- und Stromsparmodi
Technische Daten
- 48-Pin-VQFN-Gehäuse (7 mm × 7 mm)
- Jumbo-Rahmen-Unterstützung für bis zu 16 KB
- Erweiterter Industrie-Betriebstemperaturbereich: -40 °C bis +105 °C
Applikationen
- Industriesteuerung
- Laser-/Netzwerkdrucker
- Network-Attached-Speicher (NAS)
- Netzwerkserver
- Gigabit-LAN auf dem Motherboard (GLOM)
- Breitband-Gateway
- Gigabit SOHO/SMB router
- IPTV
- IP-Set-Top-Box
- Spielkonsolen
- Dreifach-Wiedergabe (Daten, Sprache und Video) Medienzentrum
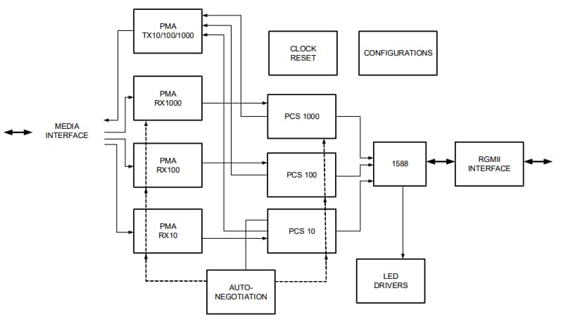
System-Blockdiagramm
LAN8840 Blockdiagramm
Veröffentlichungsdatum: 2023-06-06
| Aktualisiert: 2023-07-10
