Microchip Technology MCP1502 Hochpräzise gepufferte Spannungsreferenz
Die hochpräzise gepufferte Spannungsreferenz MCP1502 von Microchip Technology hat eine Anfangsgenauigkeit von 0,10 % und ist in 8 Spannungsoptionen erhältlich. Der MCP1502 ist eine Bandgap-Referenz mit geringer Drift (max. 7 ppm) und verwendet Verstärker auf Chopper-Basis, die die Drift erheblich reduzieren und einen hohen Ausgangsstrom liefern.Der MCP1502 von Microchip Technology ist in einem winzigen 2-x-2-SOT-23-Gehäuse erhältlich und ist nach AEC-Q100 Stufe 1 für den Einsatz in Automobilanwendungen qualifiziert.
Merkmale
- 7 ppm/°C von -40 °C bis +125 °C maximaler Temperaturkoeffizient
- 0,1 % Anfangsgenauigkeit
- Betriebstemperaturbereich: -40 °C bis +125 °C
- 140 µA typischer Betriebsstrom
- 50 ppm/V Maximale Leitungsregelung
- 40 ppm/V Maximale Lastregelung
- Das Ausgangsrauschen beträgt 30 µVRMS, 0,1 Hz bis 10 kHz (1,024 V)
- AEC-Q100 qualifiziert (Automotive-Applikationen)
- Temperaturbereich: -40 °C bis +125 °C (Grad 1)
- Es sind acht Spannungsvarianten verfügbar
- 1,024 V
- 1,250 V
- 1,800 V
- 2,048 V
- 2,500 V
- 3,000 V
- 3,300 V
- 4,096 V
Applikationen
- Präzisions-Datenerfassungssysteme
- Batteriemanagementsysteme für Elektrofahrzeuge
- Hochgeschwindigkeits-Datenwandler
- Applikationen im medizinischen Bereich
- Industriesteuerungen
- Batteriebetriebene Geräte
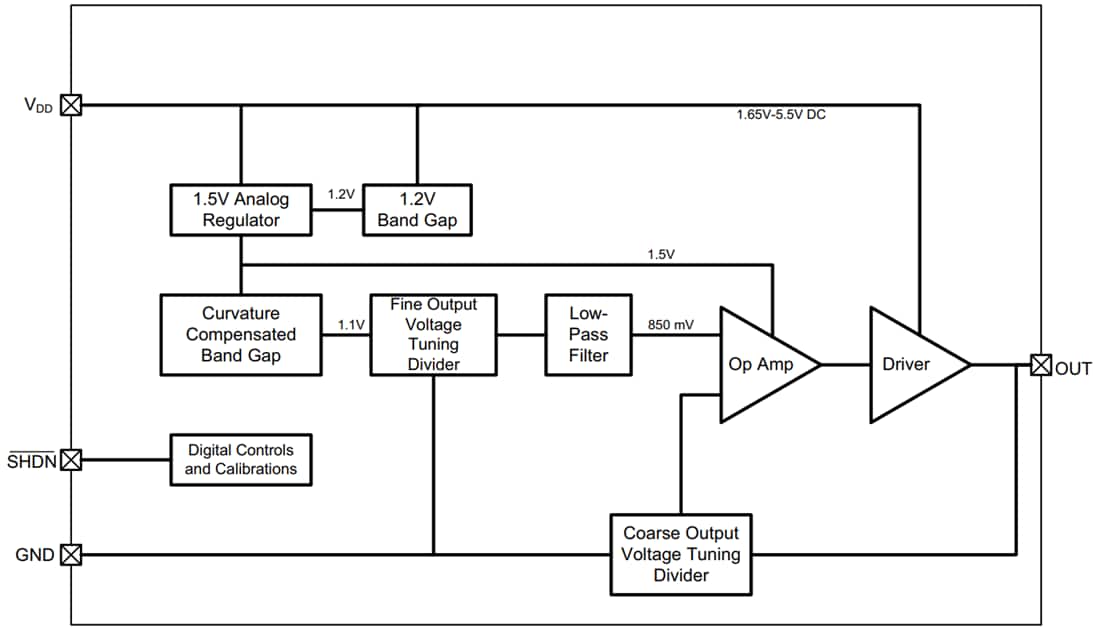
Blockdiagramm
Veröffentlichungsdatum: 2022-02-09
| Aktualisiert: 2022-03-22
