Microchip Technology PIC16F1845x 8-Bit-Mikrocontroller

Microchip PIC16F1845x 8-Bit-Mikrocontroller sind zum Kombinieren von intelligenten analogen Core-unabhängigen Pheripherien (CIPs) und Kommunikationsperipherien mit eXtreme Low-Power-Technologie (XLP) ausgelegt. Diese Mikrocontroller bieten flexible Lösungen durch einen 12-Bit-Analog-Digital-Wandler mit Berechnung (ADC²), Speicherzugriffspartitionierung (MAP), Geräteinformationsbereich (DIA) und Peripherie-Pin-Auswahl (PPS). Die PIC16F1845x Mikrocontroller arbeiten in einem Temperaturbereich von -40 °C bis 85 °C und einem Spannungsbereich von 1,8 V bis 3,6 V (PIC16LF1845x) oder 2,3 V bis 5,5 V (PIC16F1845x). Die PIC16(L)F1845x 8-Bit-Mikrocontroller sind in 28-Pin-SPDIP-, SSOP-, SOIC- und VQFN-Gehäusen erhältlich, um die Anforderungen der Entwickler zu erfüllen.

Merkmale

  • Prozessorkern:
    • C-Compiler-optimierte RISC-Architektur
    • Nur 50 Anweisungen
    • Betriebsgeschwindigkeit:
      • DC – 32 MHz Takteingang
      • Min. 125 ns Befehlszyklus
    • Interrupt-Fähigkeit
    • 16-Level-Hardware-Stack
    • Timer:
      • Bis zu zwei 24-Bit-Timer
      • Bis zu vier 8-Bit-Timer
      • Bis zu vier 16-Bit-Timer
    • Power-On Reset (POR) mit geringem Stromverbrauch
    • Konfigurierbarer Power-Up-Timer (PWRT)
    • Spannungsabfall-Reset (Brown-Out Reset, BOR)
    • Stromsparende BOR-Option (LPBOR)
    • Watchdog-Timer mit Fenster (WWDT):
      • Variable Vorteilerauswahl
      • Variable Fenstergrößenauswahl
      • In Hardware (Konfigurationswörter) und/oder Software konfigurierbar
    • Programmierbarer Code-Schutz
  • Speicher:
    • Bis zu 28 KB Flash-Programmspeicher
    • Bis zu 2 KB SRAM-Datenspeicher
    • 256 B Daten-EEPROM
    • Direkte, indirekte und relative Adressmodi
    • Speicherzugriff-Partition (MAP):
      • Schreibschutz
      • Anpassbare Partition
    • Geräteinformationsbereich (DIA)
    • Gerätekonfigurationsinformationen (DCI)
  • eXtreme Low-Power-(XLP)-Technologie:
    • Schlafmodus: 50 nA bei 1,8 V typ.
    • Watchdog-Timer - 500 nA bei 1,8 V (typ.)
    • Sekundäroszillator: 500 nA bei 32 kHz
    • Betriebsstrom:
      • 8 µA bei 32 kHz, 1,8 V (typ.)
      • 32 µA/MHz bei 1,8 V (typ.)

Technische Daten

  • Speicherart: Flash 
  • 28 KB Programmspeichergröße 
  • CPU-Geschwindigkeit (MIPS/DMIPS): 8
  • 2,048 Bytes SRAM 
  • 256 Bytes Daten-EEPROM/HEF 
  • Digitale Kommunikationsperipherien:
    • 2 x UART
    • 2 x SPI
    • 2 x I²C
  • Capture/Compare/PWM-Peripherien: 5
  • 4 x 8-Bit- und 4 x 16-Bit-Timer
  • 24-Kanal-12-Bit-ADC-Eingang
  • 2 Komparatoren
  • Temperaturbereich von -40 °C bis 125 °C
  • Betriebsspannungsbereiche:
    • PIC16LF18456 bei 1,8 V – 3,6 V
    • PIC16F18456 bei 2,3 V – 5,5 V
  • 28-Pinzahl

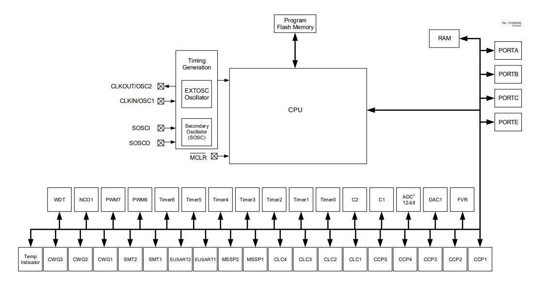
Blockdiagramm

Microchip Technology PIC16F1845x 8-Bit-Mikrocontroller
Veröffentlichungsdatum: 2018-08-02 | Aktualisiert: 2022-11-15