Microchip Technology PIC18-Q71 28/40/44/48-Pin Mikrocontroller
Microchip Technology PIC18-Q71 28/40/44/48-Pin-Mikrocontroller sind für Anwendungen mit hoher Bandbreite im Bereich Mischsignal und Sensorik ausgelegt. Die PIC18-Q71 MCUs sind eine ideale Lösung für die Marktsegmente Beleuchtung, Motorsteuerung und Medizintechnik.Die analog ausgerichteten Microchip PIC18-Q71 MCUs enthalten einen differenziellen 12-Bit-ADC mit Berechnung und Kontextumschaltung, zwei Operationsverstärker, einen 10-Bit-Digital-Analog-Wandler (DAC) und zwei 8-Bit-DAC-Module mit gepufferten Ausgängen und internen Verbindungen zu anderen Peripheriegeräten sowie zwei fortschrittliche Hochgeschwindigkeits-Analogkomparatoren. Außerdem verfügen die Geräte über den Analog Peripheral Manager zur Verwaltung analoger Peripheriegeräte, um den Stromverbrauch zu optimieren.
Die PIC18-Q71 Mikrocontroller bieten das 8Bit Virtual Port Modul, um digitale Peripheriegeräte miteinander zu verbinden, ohne externe Pins zu verwenden.
Merkmale
- C-Compiler-optimierte RISC-Architektur
- 128-Level-Deep-Hardware-Stapel
- Vier Controller mit direktem Speicherzugriff (DMA – Direct Memory Access):
- Datenübertragungen zu SFR-/GPR-Bereiche entweder vom Programm-Flash-Speicher, Daten-EEPROM oder den SFR-/GPR-Bereichen
- Benutzerprogrammierbare Quell- und Zielgrößen
- Hardware- und Software-ausgelöste Datenübertragungen
- Vektorisierte Interruptkapazität:
- Auswählbare hohe/niedrige Priorität
- Feste Interrupt-Latenz von drei Befehlszyklen
- Programmierbare Vektortabellen-Basisadresse
- Rückwärtskompatibel mit früheren Unterbrechungsfunktionen
- Betriebsgeschwindigkeit:
- Takteingang von DC bis 64 MHz
- Mindestbefehlszyklus: 62,5 ns
- Stromsparendes Power-on-Reset (POR)
- Konfigurierbarer Power-Up-Timer (PWRT)
- Spannungsabfall-Reset (Brown-Out-Reset, BOR)
- Stromsparende BOR-Option (LPBOR)
- Watchdog-Timer mit Fenster (WWDT – Windowed Watchdog Timer):
- Watchdog-Reset auf zu langes oder zu kurzes Intervall zwischen Watchdog-Löschereignissen
- Variable Prescaler-Auswahl
- Variable Fenstergrößenauswahl
Applikationen
- Analoge und digitale Sensoren in Mixed-Signal-Edge-Nodes und Single-Chip-Anwendungen
- Beleuchtung
- Motorsteuerung
- Medizintechnik
- Heimautomatisierung
- Fahrzeuganwendungen
- Internet of Things (IoT)
Weitere Ressourcen
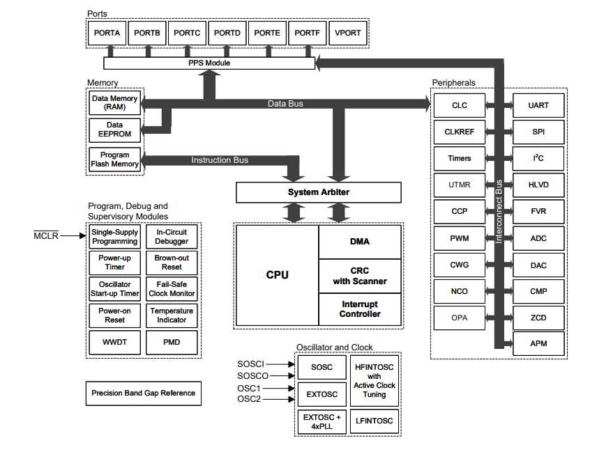
Blockdiagramm
Videos
Veröffentlichungsdatum: 2023-03-01
| Aktualisiert: 2024-11-06
