NXP Semiconductors PF1550 PMICs

NXP Semiconductors PF1550 Integrierte Leistungsmanagement-Schaltkreise (PMICs) sind für den Einsatz mit i.MX Prozessoren auf stromsparenden tragbaren Applikationen, Smart-Wearables und IoT-Applikationen ausgelegt. Diese PMICs bieten ein vollständige Leistungslösung für i.MX 7ULP-, i.MX 6SL-, 6UL-, 6ULL- und 6SX-Prozessoren. Die PF1550 PMICs in Kombination mit drei hocheffizienten Abwärtswandlern, drei Linearreglern, einer RTC-Versorgung und einem Batterielinearladegerät liefern Strom für ein komplettes batteriebetriebenes System. Diese PMICs verfügen über drei benutzerprogrammierbare LDO-Regler, eine I2C-Schnittstelle, eine DDR-Anschluss-Referenzspannung und ein lineares 1A-Li-Ion-Ladegerät. Zu den typischen Applikationen gehören Heimautomatisierung, E-Reader, Smart-Handys, drahtlose Spiele-Controller, IoT und Embedded-Überwachungssysteme.

Merkmale

  • Eingangsspannungsbereich bis PMIC-VBUSIN-Pin über USB-Bus- oder AC-Adapter (4,1 V bis 6 V)
  • Abwärtswandler:
    • Interner digitaler Sanftanlauf
    • 1 μA Ruhestrom im ULP-Modus mit leichter Last
    • Spitzenwirkungsgrad > 90 %
    • Dynamische Spannungsskalierung auf SW1 und SW2
    • Modi:
      • Erzwungene PWM quasi-fester Frequenzmodus
      • Adaptiver variabler Frequenzmodus
    • Programmierbare Ausgangsspannung, Strombegrenzung und Soft-Start
  • LDO-Regler:
    • Ruhestrom < 1,5 μA stromsparender Modus
    • Programmierbare Ausgangsspannung
    • Soft-Start und Rampe
    • Strombegrenzungsschutz
  • Ladegerät:
    • Unterstützt Einzelzellen-Lithium-Ionen-/Lithium-Polymer-Batterien
    • Lineares Laden
    • Integrierter 50m-Batterie-Isolierungs-MOSFET
    • Batterie-Erweiterungsmodus
    • Bis zu 3 A Batterieentladungs-Überstromschutz
    • Programmierbarer LED-Treiber
    • JEITA-konforme Batterietemperaturerkennung und Ladegerätsteuerung
  • LDO/Schalter-Versorgung:
    • RTC-Versorgung VSNVS 3 V, 2 mA
    • Knopfzellen-Ladegerät
  • DDR-Speicher-Referenzspannung VREFDDR, 0,5 bis 0,9 V, 10 mA
  • OTP-Speicher (One Time Programmable) für Gerätekonfiguration:
    • Benutzerprogrammierbare Einschaltsequenz, Timing, Soft-Start und Ausschaltsequenz
    • Programmierbare Regler-Ausgangsspannungen und Ladegerät-Parameter
  • I2C-Schnittstelle
  • Vom Benutzer programmierbarer Standby-, Sleep-, stromsparender und Aus-Modus (REGS_DISABLE)
  • Umgebungs-Betriebstemperaturbereich -40 °C bis +105 °C

Applikationen

  • Smart-Handys/wearable Geräte
  • Stromsparendes IoT
  • Drahtloser Spiele-Controller
  • Heimautomatisierung
  • Embedded Überwachungssysteme
  • POS
  • E-Reader

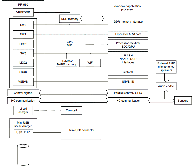
PF1550 PMICs Funktionales Blockdiagramm

Blockdiagramm - NXP Semiconductors PF1550 PMICs

PF1550 PMICs Internes Blockdiagramm

Blockdiagramm - NXP Semiconductors PF1550 PMICs

PF1550 PMICs Applikations-Schaltung

Applikations-Schaltungsdiagramm - NXP Semiconductors PF1550 PMICs
Veröffentlichungsdatum: 2018-08-07 | Aktualisiert: 2024-11-12