NXP Semiconductors PCA2131 Nano-Power-CMOS-Zeitgeber (RTC)
Der NXP Semiconductors PCA2131 Nano-Power-CMOS-Zeitgeber (RTC) ist ein RTC und ein Kalender mit einem temperaturkompensierten Quarz(Xtal)-Oszillator (TCXO) und einem 32,768-kHz-Quarz im selben Gehäuse. Der AEC-Q100-konforme PCA2131 ist für eine sehr hohe Genauigkeit und einen extrem niedrigen Stromverbrauch optimiert. Adresse und Daten werden über einen wählbaren I2C-Bus im Schnellmodus von 400 kHz oder einen SPI-Bus mit 4 Leitungen (maximale Geschwindigkeit von 6,5 MBit/s) mit getrenntem Daten-Ein-/Ausgang übertragen.Der PCA2131 verfügt über einen Backupbatterie-Eingangs-Pin und eine Backupbatterie-Umschaltung, welche die Hauptstromversorgung überwacht. Die Schaltung schaltet automatisch auf die Backupbatterie um, wenn ein Stromausfall festgestellt wird. So bleibt die genaue Zeitmessung auch dann erhalten, wenn die Hauptstromversorgung unterbrochen ist. Eine Erkennungsschaltung für eine schwache Batterie überwacht den Batteriestand. Wenn die Batteriespannung unter einen bestimmten Schwellenwert fällt, zeigt ein Flag an, dass die Batterie bald ersetzt werden muss. Dies gewährleistet die Integrität der Daten während des Batterie-Backups. Weitere Funktionen sind eine programmierbare Watchdog-Funktion, vier Zeitstempel-Funktionen und vieles mehr.
Merkmale
- Konform mit AEC-Q100
- -40 °C bis +105 °C Betriebstemperaturbereich
- Temperaturkompensierter Quarzoszillator (TCXO) mit getrimmten integrierten Kondensatoren
- Uhr bis zu +125 °C betriebsfähig
- Extrem niedriger typischer Versorgungsstrom von 106 nA bei VDD = 3,3 V
- Temperaturkompensierter RTC, typische Genauigkeit
- ±3 ppm von -40 °C bis +85 °C
- ±8 ppm von +85 °C bis +105 °C
- Integriert einen 32,768 kHz Quarzkristall und einen Oszillator im selben Gehäuse
- Liefert Jahr, Monat, Tag, Wochentag, Stunden, Minuten, Sekunden und 1/100-Sekunden
- Bietet eine Schaltjahrkorrektur
- Zeitstempel-Funktion
- Mit Interrupt-Funktion
- Erkennung von vier verschiedenen Ereignissen auf vier Eingangs-Pins (zum Beispiel für Manipulationserkennung)
- Bidirektionale Schnellmodus-I2C-Bus-Schnittstelle von 400 kHz mit zwei Leitungen
- SPI-Bus mit separatem Dateneingang und -ausgang (maximale Geschwindigkeit von 6,5 MBit/s) mit vier Leitungen
- Batteriebackup-Eingangspin und Umschaltung
- Batteriegestützte Ausgangsspannung
- Erkennungsfunktion für schwache Batterie
- Power-On-Reset (POR)
- Einschalt-Reset-Übersteuerungsfunktion (PORO)
- Software-Reset-Funktion
- Zwei Interrupt-Ausgänge (Open-Drain)
- Programmierbare 1-Sekunden- oder 1-Minuten-Unterbrechung
- Programmierbarer Watchdog-Timer mit Unterbrechung
- Programmierbare Alarmfunktion mit Unterbrechungsfunktion
- Programmierbarer Rechteckausgang
- Uhr-Betriebsspannung: 1,2 V bis 5,5 V
- HLSON16-Gehäuse
- Gehäuse von 4,5 mm x 3,5 mm x 1,45 mm, Rastermaß von 0,5 mm
- Benetzbare Flanke mit 0,125-Vertiefung
- Thermisch optimiertes niedriges Profil mit kleinem Gehäuse, ohne Anschlüsse
Applikationen
- Elektronische Strom-, Wasser- und Gaszähler
- Präzise Zeitmessung
- Zugriff auf die genaue Tageszeit
- GPS-Ausrüstung zur Reduzierung der Zeit bis zur ersten Reparatur
- Applikationen, die ein genaues Prozesstiming erfordern
- Produkte mit langer automatisierter unbeaufsichtigter Betriebszeit
- Automobil-Applikationen
- Automotive-Hochleistungsrechner
- Vernetzte Funkgeräte
- Digitale Kombiinstrumente
- Smart-Autozugang
- V2X-Kommunikationen
Videos
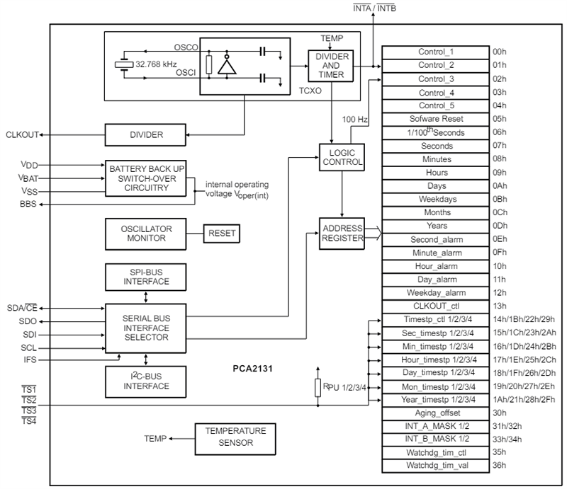
Blockdiagramme
