onsemi NCx57252 Gate-Treiber
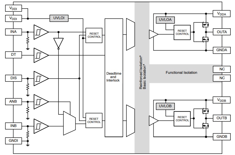
Bei den NCx57252 von Onsemi handelt es sich um isolierte Hochstrom-Zweikanal-IGBT-/MOSFET-Gate-Treiber mit interner galvanischer Trennung von 2,5 krms oder 5 kV rms vom Eingang zu jedem Ausgang. Diese Treiber akzeptieren 3,3 V bis 20 V Vorspannung und Signalpegel auf der Eingangsseite und bis zu 32 V Vorspannung auf der Ausgangsseite. Die NCD(V)57252 Gate-Treiber zeigen eine konstante Leistungsfähigkeit und können als Dual-Low-Side- oder Dual-High-Side- oder High-Brücken-Treiber konfiguriert werden. Diese Gate-Treiber akzeptieren komplementäre Eingänge und bieten separate Pins für die Deaktivierung und Totzeitsteuerung für ein bequemes Systemdesign. Die NCx57252 Treiber unterstützen eine schnelle Schaltaktion und sind in einem breiten SOIC-16- und schmalen SOIC-16-Gehäuse verfügbar. Diese Treiber werden idealerweise in der Automobilbranche, in der Industrie, in Ladegeräten für Elektrofahrzeuge (EV), in der Motorsteuerung, in unterbrechungsfreien Stromversorgungen (USV) und in Solarwechselrichtern eingesetzt.Merkmale
- Hoher Spitzenstrom (±6,5 A, ±3,5 A)
- Konfigurierbar als Dual-Low-Side- oder Dual-High-Side- oder Halbbrückentreiber
- Programmierbare Überlappung oder Totzeit-Steuerung
- Deaktivierungs-Pin zum Ausschalten der Ausgänge für die Leistungssequenzierung
- Die ANB-Funktion bietet Flexibilität für die Einrichtung des Treibers als Halbbrückentreiber, der mit einem einzelnen Eingangssignal betrieben wird
- IGBT-/MOSFET-Gate-Klemme während Kurzschluss
- Kurze Laufzeitverzögerungen mit präziser Anpassung
- Enge UVLO-Schwellenwerte auf allen Netzteilen
- 3,3 V, 5 V und 15 V Logikeingänge
- Galvanische Trennung von 2,5 krms oder 5 kV rms vom Eingang zu jedem Ausgang und 1,5 kVrms Differentialspannung zwischen den Ausgangskanälen
- 1200 V Betriebsspannung (gemäß VDE0884-11 Anforderungen)
- Hohe flüchtige Gleichtaktsicherheit
- NCV-Präfix für Automotive- und andere Applikationen, die einzigartige Platz- und Steueränderungsanforderungen erfüllen müssen
- AEC-Q100-qualifiziert und PPAP-fähig
- Bleifrei, halogenfrei/BFR-frei und RoHS-konform
Applikationen
- Automotive
- Industrie
- Ladegeräte für Elektrofahrzeuge (EV)
- Unterbrechungsfreie Stromversorgungen (USV)
- Industrienetzteile
- Motorsteuerung
- Solarwechselrichter
Blockdiagramm
Veröffentlichungsdatum: 2021-05-27
| Aktualisiert: 2024-03-15
