onsemi FAN6248 Synchrone Gleichrichter-Controller

Die FAN6248 synchronen Gleichrichter-Controller (SR) von onsemi sind für LLC-Resonanzwandler optimiert. Diese Controller bieten zwei Treiber-Stufen zur Ansteuerung von SR-MOSFETs, die die Ausgänge der sekundären Transformatorwicklungen gleichrichten. Die FAN6248 Controller sind in den Versionen FAN6248HAMX und FAN6248HBMX erhältlich. Die FAN6248HAMX Controller bieten  eine hohe Ausschaltschwellwert-Spannung und die FAN6248HBMX Controller bieten eine geringe Ausschaltschwellwert-Spannung. Weitere Funktionen umfassen Leichtlast-Erfassung, Standby-Stromverbrauch und SR-Strominversions-Erfassung.Die Applikationen umfassen Laptop-Adapter mit hoher Leistungsdichte, LCD-Fernseher, PDP-Fernseher, RP-Fernseh-Stromversorgung und Hochleistungs-LED-Beleuchtung.

Merkmale

  • Highly integrated self-contained control of synchronous rectifier with minimum external components
  • Anti-shoot-through control for reliable SR operation
  • Separate 100V rated sense inputs for sensing the drain and source voltage of each SR MOSFET
  • Adaptive parasitic inductance compensation to minimize the body diode conduction
  • Adaptive minimum on time for noise immunity
  • High driver output voltage of 10.5V to drive all MOSFET brands to the lowest RDS_ON

Technische Daten

  • Up to 30V operating voltage range
  • 25KHz to 700KHz operating frequency

Applikationen

  • High power density laptop adapter
  • High power density adapter
  • Large screen LCD-TV, PDP-TV, and RP-TV power
  • High-efficiency desktop and server power supplies
  • Networking and telecom power supplies
  • High power LED lighting

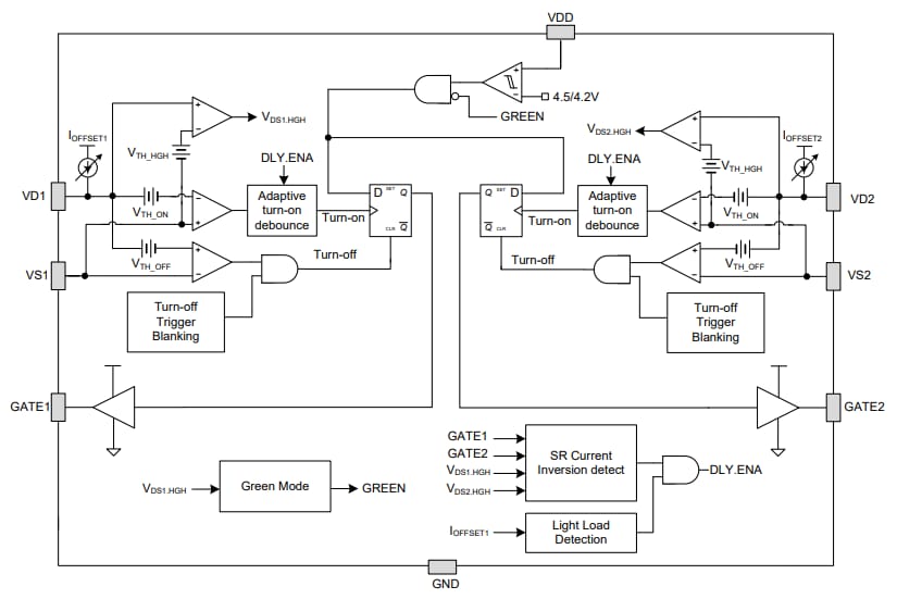
Block Diagram

Blockdiagramm - onsemi FAN6248 Synchrone Gleichrichter-Controller
Veröffentlichungsdatum: 2017-06-19 | Aktualisiert: 2022-03-11