onsemi NCP110 Linear-Spannungsregler
onsemi NCP110 Linear-Spannungsregler sind in der Lage, aus einer 1,1V-Eingangsspannung einen Ausgangsstrom von 200 mA zu liefern. Diese Spannungsregler bieten einen großen Ausgangsbereich von 0,6 V bis zu 4,0 V mit sehr geringem Rauschen und hohem PSRR (Power Supply Rejection Ratio). Die NCP110 Regler sind für den Betrieb mit einem 1µF-Eingangs- und einem 1µF-Ausgangs-Keramikkondensator ausgelegt. Diese Linear-Spannungsregler eignen sich aufgrund ihres niedrigen Ruhestroms für batteriebetriebene Geräte wie Smartphones und Tablets. Zu den typischen Applikationen gehören batteriebetriebene Geräte, Smartphones, Digitalkameras, Rauchmelder, tragbare medizinische Ausrüstung, Takt-Netzteile und batteriebetriebene drahtlose IoT-Module.Merkmale
- Betriebseingangsspannungsbereich von 1,1 V bis 5,5 V
- Feste Spannungsoption von 0,6 V bis 4,0 V
- ±2 % Genauigkeit in Bezug auf Last/Temperatur
- Stabil mit 1μF-Keramikkondensatoren in kleinen Gehäusen
- Erhältlich in:
- WLCSP4 0,65mm x 0,65mm x 0,33 mm Gehäuse 567VS
- XDFN4 1 mm x 1 mm x 0,4 mm Gehäuse 711AJ
- Diese Bauteile sind bleifrei, halogen-/BFR-frei und RoHS-konform
Technische Daten
- Extrem niedriger Ruhestrom von 20 µA (typisch)
- Standby-Strom 0,1 A (typisch)
- Sehr geringer Dropout von 70 mV für 1,05 V bei 100 mA
- Hohes PSRR von 95 dB (typisch) bei 20 mA und einer Frequenz von 1 kHz (typisch)
- Extrem geringes Rauschen 8,8 µVRMS
Applikationen
- Batteriebetriebene Geräte
- Smartphones und Tablets
- Digitalkameras
- Rauchmelder
- Tragbare medizinische Ausrüstung
- HF, PLL, VCO und Takt-Netzteile
- Batteriebetriebene drahtlose IoT-Module
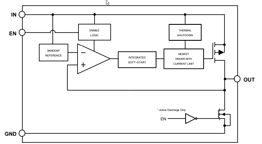
NCP110 Regler Blockdiagramm
Diagramm typischer NCP110 Applikationen
Veröffentlichungsdatum: 2018-07-10
| Aktualisiert: 2022-10-31
