onsemi NCV8445 Selbstgeschützter High-Side-Treiber

Der onsemi NCV8445 selbstgeschützte High-Side-Treiber ist ein vollständig geschützter High-Side-Treiber, der verschiedene Lasten schalten kann, wie z. B. Glühlampen, Magnetventile und andere Aktoren. Der NCV8445 von onsemi ist intern durch eine aktive Strombegrenzung und eine thermische Abschaltung vor Überlast geschützt. Ein Diagnoseausgang meldet den EIN- und AUS-Zustand bei offener Last und die thermische Abschaltung.

Merkmale

  • Kurzschluss-Sicherung
  • Thermische Abschaltung mit automatischem Neustart
  • CMOS-kompatibler Stromeingang (3,3 V/5 V)
  • Erkennung offener Lasten im Ein- und Aus-Zustand
  • Diagnostische Ausgabe
  • Unterspannungs- und Überspannungsabschaltung
  • Verlust von Erdungsschutz
  • ESD-Schutz
  • Anstiegsratensteuerung für das Schalten mit niedriger EMI
  • Sehr niedriger Standby-Strom
  • NCV-Präfix für die Fahrzeuganwendungen und andere Applikationen, die besondere Anforderungen an Standort- und Kontrolländerungen stellen; AEC-Q100-qualifiziert und PPAP-fähig
  • Diese Geräte sind bleifrei und RoHS-konform

Applikationen

  • Schalten eine große Auswahl von ohmschen, induktiven und kapazitiven Lasten
  • Ersetzt Elektromechanik-Relais und diskrete Schaltungen
  • Fahrzeuganwendungen oder Industrieapplikationen

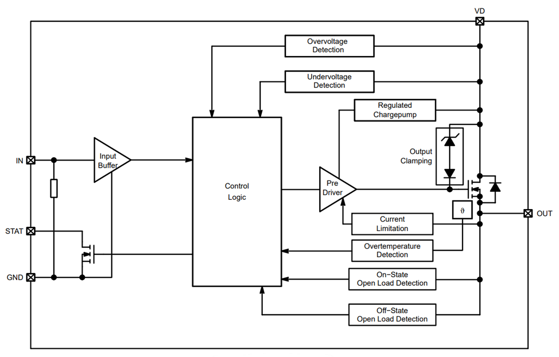
Blockdiagramm

Blockdiagramm - onsemi NCV8445 Selbstgeschützter High-Side-Treiber
Veröffentlichungsdatum: 2024-11-25 | Aktualisiert: 2024-12-03