Renesas Electronics IoT-Kommunikations-Gateway-Hub
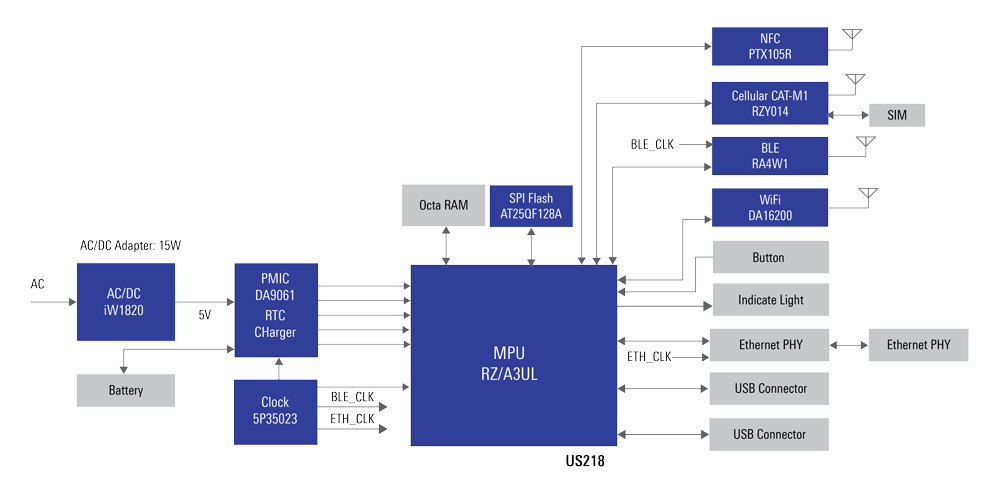
Der Renesas Electronics IoT-Kommunikations-Gateway-Hub ist eine Kommunikations-Gateway-Lösung für ein Überwachungssystem, das den Gesundheitsstatus des Patienten automatisch mit einem Arzt abstimmen kann. Die Patientenüberwachungsgeräte kommunizieren mit diesem Gateway über BLUETOOTH® Low Energy mit großer Reichweite oder kontaktlose Nahfeldkommunikation (NFC). Das Gateway gibt diese Daten an den Arzt oder ein Analysesystem vor Ort bzw. in der Cloud weiter.Merkmale
- Gateway-Brücken zwischen lokaler nicht-IP-Kommunikation (NFC, BLUETOOTH Low Energy) und IP-Netzwerken/Cloud (Wi-Fi, LTE)
- Leistung der MPU-Klasse, aber die Softwareentwicklung in einem RTOS ermöglicht eine sehr schnelle Boot-Zeit und eine einfache Portierung der MCU-Codebasis
- 15-W-Universal-AC/DC-Adapter, der für 5-V-Applikationslasten optimiert ist
SYSTEMBLOCKDIAGRAMM
WEITERE APPLIKATIONSLÖSUNGEN
Erfahren Sie, wie die ergänzenden Produktportfolios von Renesas mit Analog + Power + Embedded-Verarbeitung zusammenarbeiten, um umfassende Lösungen zu liefern.
Veröffentlichungsdatum: 2023-06-27
| Aktualisiert: 2023-07-11
