Renesas Electronics RC190xxA PCIe-Taktpuffer und Multiplexer der 5./6. Gen.
Renesas Electronics RC190xxA PCIe-Taktpuffer und Multiplexer der 5./6. Gen. verfügen über einen extrem niedrigen additiven Jitter und einen integrierten Quellenanschluss von 85 Ω oder 100 Ω, der bis zu 96 externe Widerstände für eine 24-Kanal-Pufferausführung spart. Die serielle Hochgeschwindigkeits-Schnittstelle (SBI) unterstützt die Ausgangsfreigabe und die Verkettung des Bauteils. Die Systemsicherheit auf dem RC190xxA wird mit einem SMBus-Schreibschutz gewährleistet.Die RC190xxA PCIe-Taktpuffer und Multiplexer der 5./6. Gen. von Renesas bieten eine erweiterte Betriebstemperatur in einem kleinen Gehäuse.
Merkmale
- Niedriger additiver Jitter
- PCIe Gen5 Additiver Phasenjitter von 7 fs
- PCIe Gen6 Additiver Phasenjitter von 4 fs RMS
- Maximale Laufzeitverzögerung am Ein-/Ausgang von <1,5 ns (max.)
- Eingang mit Abschalttoleranz (PDT) und flexible Einschaltsequenzierung (FPS)
- Automatische Taktstellung (ACP)
- Wählbare Ausgangs-Anstiegsrate über Pin oder SMBus
- 4-Draht-Seitenband-Schnittstelle
- 9 auswählbare SMBus-Adressen
- SMBus-Schreibschutz
- Ausgangsimpedanz-Optionen: 85 Ω oder 100 Ω
- Betrieb: -40 °C bis +105 °C, 3,3 V ±10 %
Applikationen
- Cloud/Hochleistungs-Computertechnik
- nVME-Speicher
- Netzwerke
- Beschleuniger
- Computer
- Industrieapplikationen
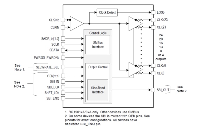
Blockdiagramm
Veröffentlichungsdatum: 2022-01-24
| Aktualisiert: 2022-07-21
