Renesas Electronics RC38x08 FemtoClock®3 Drahtlose Jitter-Dämpfer
Renesas Electronics RC38x08 FemtoClock® 3 Wireless Ultra-low Phase Noise Jitter Attenuatoren und Clock-Generatoren umfassen die RC38208 und RC38108 Hochleistungs- kleinen Formfaktor Geräte. Diese Bauelemente sind Jitter-Dämpfer Mehrfrequenztakt-Synthesierer und digital gesteuerte Oszillatoren (DCOs). Die flexiblen stromsparenden RC38x08 Bauteile erzeugen Takte mit extrem niedrigem Inband-Phasenrauschen und Störung für 4G/5G HF-Transceiver und mit Jitter unter 25fs RMS für 112 Gbps und 224 Gbps SerDes. Der RC38x08 kann bis zu drei Synchronisierungsdomänen verwalten und unterstützt CPRI/eCPRI und Synchronisierungsmethoden wie IEEE 1588, synchrones Ethernet (SyncE), GPI oder GNSS. Der RC38x08 vereinfacht die Systemtakterzeugung mit bis zu vier Frequenzbereichen, während integrierte LDOs eine hervorragende PSRR bieten, wodurch die PCB-Komplexität reduziert wird. Diese Vereinfachung macht ihn zu einer ausgezeichneten Wahl für Applikationen, wie z. B. Timing für optische Frontend-DAC/ADC und DSP, Referenztaktgeber für Hochgeschwindigkeits-SerDes, 5G-Verteilereinheiten und Hochleistungs-DCO für PTP-basierte Takte.Merkmale
- Synthesizer mit extrem niedrigem Phasenrauschen und Jitter unter 25fs RMS, 12 kHz bis 20 MHz mit 4 MHz HPF
- Zwei unabhängige Sync-Domänen mit niedrigem Phasenrauschen
- Vier unabhängige Frequenzdomänen mit niedrigem Phasenrauschen
- Unterstützung für JESD204B/C
- Time-Sync-Block mit Time-to-Digital-Wandler (TDC), Time-Of-Day (TOD) -Zähler und PTP-Takten
- Acht Taktausgänge mit unabhängigen ganzzahligen Teilern
- 6: LVDS, HCSL (AC-LVPECL) oder CML
- 2: LVDS, HCSL (AC-LVPECL) oder LVCMOS
- Ausgangsfrequenzbereich:
- DC bis 2,5 GHz für CML
- DC bis 1 GHz für LVDS oder HCSL
- DC bis 250 MHz für LVCMOS
- Zwei differentielle Takteingänge, die als vier einendige Takteingänge konfigurierbar sind
- Wird mit einer 1,8 V-Versorgung betrieben
- Takteingänge tolerieren einen 1,8 V-Eingang, wenn das Bauteil ausgeschaltet ist und senken weniger als 1 mA
- DC bis 1 GHz CLKIN Eingangsfrequenzbereich
- Time Sync TDC unterstützt 1PPS- und PP2S-Eingänge
- DPLLs konform mit ITU-T G.8262 und G.8262.1
- DPLL-Eingang-zu-Ausgang-Phasenabweichung von ≤ 100 ps
- DCO-Frequenzauflösung von <>
- 7 mm × 7 mm-, 64-BGA-Gehäuse
Applikationen
- Timing für optischen Frontend-DAC/ADC und DSP
- Hochleistungs-DCO für präzise Zeitprotokoll- (PTP) -basierte Takte
- Referenztakt für 112 Gbps und 224 Gbps SerDes
- 5 G Verteilereinheiten (DU), Schalter und Router
Typischer optischer Frontend-Anwendungsfall
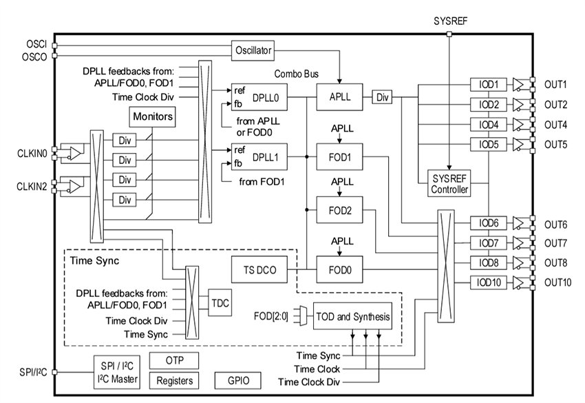
RC38108 Blockdiagramm
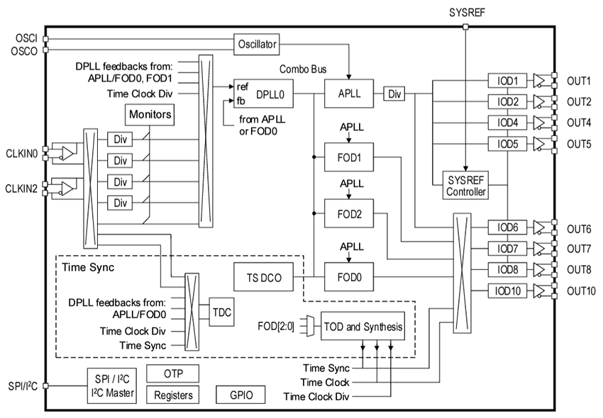
RC38208 Blockdiagramm
Veröffentlichungsdatum: 2024-10-11
| Aktualisiert: 2024-12-02
