Texas Instruments IWRL1432 mmWave-Radarsensor
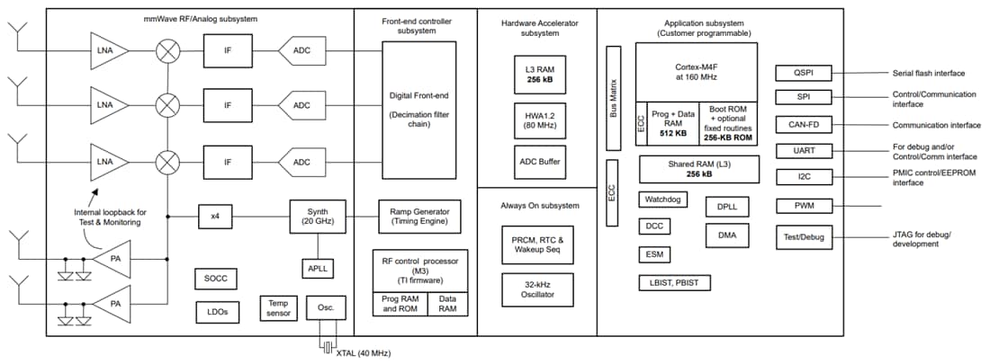
Der IWRL1432 mmWave-Radarsensor von Texas Instruments ein integrierter Einzelchip-mmWave-Sensor, der auf der FMCW-Radartechnologie basiert. Das Bauelement kann im 76 GHz- bis 81 GHz-Band betrieben werden und ist in vier Leistungsbereiche unterteilt (HF/Analog-Subsystem, Front-End Controller Subsystem (FECSS), Application Subsystem (APPSS) und Hardware Accelerator (HWA)).Basierend auf den Anforderungen des Anwendungsfalls verfügt IWRL1432 über separate Steuerelemente für jeden Leistungsbereich, um den Zustand des Geräts zu steuern (Strom ein oder aus). Er kann verschiedene Stromsparmodi wie Tiefschlaf und Ruhezustand einnehmen, wobei der Stromsparmodus durch Takt-Gating und Abschalten der internen IP-Blöcke des Bauelements erreicht wird. In solchen Szenarien behält das Bauelement einige seiner Inhalte, wie das Applikationsbild oder das HF-Profil.
Darüber hinaus ist das Bauelement mit dem stromsparenden 45 nm HF-CMOS-Prozess von TI in einem extrem kleinen Formfaktor gefertigt und ermöglicht ein noch nie dagewesenes Maß an Integration. IWRL1432 wurde für stromsparende, selbstüberwachende und ultrapräzise Radarsysteme im Bereich der Industrie- (und persönlichen) Elektronik entwickelt. Sie sind ideal für Sicherheitsanwendungen im gewerblichen und privaten Bereich, Gebäude- und Fabrikautomatisierung, persönliche Elektronik, Anwesenheits- und Bewegungserkennung sowie Gestenerkennung für Mensch-Maschine-Schnittstellen.
Merkmale
- FMCW-Transceiver
- PLL, Sender, Empfänger, Basisband und ADC integriert
- 76 GHz zu 81 GHz Abdeckung mit 5 GHz kontinuierlicher Bandbreite
- Drei Empfangskanäle und zwei Sendekanäle
- Kurze Reichweite
- 11 dBm typische Ausgangsleistung pro Tx
- 14 dB typischer Rauschfaktor
- -89 dBc/Hz typisches Phasenrauschen bei 1 MHz
- FMCW-Betrieb
- 5 MHz ZF-Bandbreite, nur echte Rx-Kanäle
- Ultra-genaue Chirp-Engine auf Basis einer Fraktional-N-PLL
- Binärer Phasenschieber pro Sender
- Verarbeitungselemente
- Arm®-M4F-Core mit FPU mit einfacher Genauigkeit (160 MHz)
- TI Radar Hardware Accelerator (HWA 1.2) für FFT, Log Magnitude und CFAR-Betriebsabläufe (80 MHz)
- Unterstützt mehrere Stromsparmodi
- Leerlaufmodus und Tiefschlafmodus
- Leistungsmanagement
- 1,8 V und 3,3 V IO-Unterstützung
- Eingebautes LDO-Netzwerk für verbesserte PSRR
- BOM-optimierte und energieoptimierte Modi
- Eine oder zwei Stromschienen für 1,8 V IO-Modus, zwei oder drei Stromschienen für 3,3 V IO-Modus
- 6,45 mm x 6,45 mm Gehäusegröße des FCCSP-Bauelelements
- Integrierte Kalibrierung und Selbsttest
- Integrierte Firmware (ROM)
- Eigenständiges On-Chip-Kalibrierungssystem
- Host-Schnittstelle
- UART
- CAN-FD
- SPI
- RDIF (Radar Data Interface) für die Erfassung von ADC-Rohdaten
- Andere für die Benutzeranwendung verfügbare Schnittstellen
- QSPI
- I2C
- JTAG
- GPIOs
- PWM-Schnittstelle
- Interner Speicher
- 1 MB On-Chip-RAM
- Konfigurierbarer gemeinsamer L3-Speicher für Radar-Würfel
- Daten- und Code-RAM von (512/640/768 KB)
- Für die Einhaltung der funktionalen Sicherheitsanforderungen ausgelegt
- Entwickelt für funktionale Sicherheitsapplikationen
- Hardware-Integrität bis zu SIL 2 angestrebt
- FCCSP-Gehäuse mit 12 x 12, 102 BGA-Bälle
- Taktquelle
- 40,0 MHz Quarz für den primären Taktgeber
- Unterstützt extern angetriebenen Takt (quadratisch/sinusförmig) bei 40,0 MHz
- 32 kHz interner Oszillator für stromsparenden Betrieb
- Unterstützt den Betriebstemperaturbereich
- -40°C bis 105 °C Sperrschicht-Betriebstemperaturbereich
Applikationen
- Automatisierte Tür/Tor
- Bewegungsmelder
- Industriesensor für Messbereich, Geschwindigkeit und Winkel
- Radar zur Sondierung des Tankfüllstands
- Abstandsmessung
- Verkehrsüberwachung
- Näherungsmessung
- Sicherheit und Überwachung
- Sicherheitsvorrichtungen für die Fabrikautomatisierung
- Füllstandsmessung
- E-Bikes
- Parkbarriere
- Geländefahrzeuge
- Kick eScooter
- Selbstausgleichender Personentransporter
Funktionales Blockdiagramm
