Nexperia NCA95xx I2C GPIO-Erweiterungen
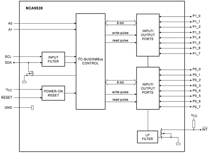
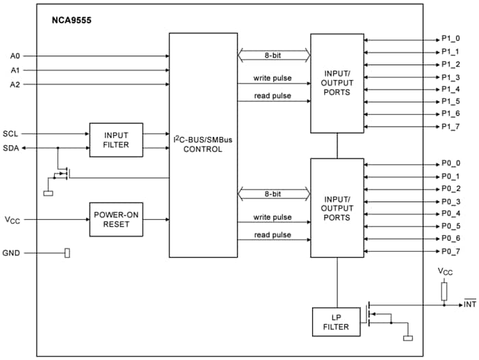
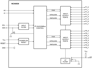
Nexperia NCA95xx I2C-I/O-Universalexpander (GPIO) bieten eine elegante LÖSUNG, wenn zusätzliche I/Os erforderlich sind, während die Verbindungen auf einem Minimum gehalten werden müssen. Diese GPIO-Expander sind in TSSOP24- und HWQFN24-Gehäusen untergebracht und verfügen über mehrere Funktionen, wie z. B. Interrupts, Hardware-RESET, interne Pullup-Widerstände und konfigurierbare Pullups. Diese NCA95xx GPIO-Expander von Nexperia besitzen Vorteile wie z. B. extrem geringen statischen Stromverbrauch und reduzierte Komplexität des PCB-Designs durch Trace-Reduzierung und Routing-Vereinfachung, was Stückkosten reduziert.Merkmale
- Single-Supply-GPIO-Expander, der einen Betriebsspannungsbereich von 1,65 V bis 5,5 V unterstützt
- Umwandlung seriell-parallel (SDA zu P0-P16) und von parallel-seriell (P0-P16) mitI2C-Protokoll
- Schmitt-Trigger-Aktion ermöglicht langsame Eingangsübergänge und bessere Störfestigkeit gegen Schaltgeräusche an den SCL- und SDA-Eingängen
- Geringe Leistungsaufnahme von maximal 2,5 µA
- 400-kHz-Betrieb (Modus FMI2C)
- Störungsfreies Einschalten mit allen Kanälen, die als Eingänge mit schwachen Pull-up-Widerständen konfiguriert sind
- 5 V-tolerante E/As und 16 E/As-Pins, was standardmäßig 16 Eingängen entspricht
- Latch-Ausgänge mit 25 mA maximaler Ansteuerungsfähigkeit für die direkte Ansteuerung von LEDs
- Polaritätsumkehrungsregister
- Externer Reset-Pin zum Zurücksetzen von Zustandsautomaten und internen Registern
- Rauschfilter an SCL- und SDA-Eingängen
- TSSOP24- und HWQFN24-Gehäuse
- Spezifiziert von -40 °C bis +85 °C und von -40 °C bis +125 °C
Applikationen
- Server und Router
- TV- und Hardware-Kontrollmonitore
- Spielkonsolen und Drohnen
- Batteriebetriebene Applikationen
- Automobilapplikationen (ADAS, VCU, DCU und BCM)
- Überwachungskameras
- Telekommunikationsausrüstung
View Results ( 8 ) Page
| Teilnummer | Datenblatt | Verpackung/Gehäuse | Maximale Taktfrequenz | Anzahl der I/Os |
|---|---|---|---|---|
| NCA9535BY-Q100HP | ![]() |
HWQFN-24 | ||
| NCA9539BYHP | ![]() |
HWQFN-24 | ||
| NCA9555BY-Q100HP | ![]() |
HWQFN-24 | 100 kHz, 400 kHz | 16 I/O |
| NCA9555BYHP | ![]() |
HWQFN-24 | 100 kHz, 400 kHz | 16 I/O |
| NCA9535PWJ | ![]() |
TSSOP-24 | 400 kHz | 16 I/O |
| NCA9539PWJ | ![]() |
TSSOP-24 | 400 kHz | 16 I/O |
| NCA9539PW-Q100J | ![]() |
TSSOP-24 | 400 kHz | 16 I/O |
| NCA9535PW-Q100J | ![]() |
TSSOP-24 | 400 kHz | 16 I/O |
Veröffentlichungsdatum: 2023-05-11
| Aktualisiert: 2025-04-17

