FTDI Chip FT232RN USB-UART-ICs
FTDI Chip FT232RN USB-UART-ICs bieten einen USB-zu-seriellen-UART und Bit-Bang-/GPIO-Modi mit optionalem Taktgeberausgang. Der FT232RN bietet asynchrone und synchrone Bit-Bang-Schnittstellenmodi. Die USB-zu-Seriell-Designs mit dem FT232RN wurden weiter vereinfacht, indem das externe EEPROM, die Taktschaltung und die USB-Widerstände vollständig integriert wurden.Die FT232RN USB-UART-ICs von FTDI Chip sind ein „3-in-1“-Chip für bestimmte Applikationsbereiche, der im Vergleich zu seinen Vorgängern zwei neue Funktionen bietet. Der intern erzeugte Takt (6 MHz, 12 MHz, 24 MHz und 48 MHz) kann vom FT232RN getrennt und zur Ansteuerung eines Mikrocontrollers oder einer externen Logikschaltung verwendet werden.
Der FT232RN ist in einem bleifreien (RoHS-konformen) kompakten 28-Pin-SSOP- (FT232RNL) und 32-Pin-QFN-Gehäuse (FT232RNQ) untergebracht.
Merkmale
- Einzel-Chip-USB-auf-asynchrone-serielle-Datenübertragungsschnittstelle
- Das gesamte USB-Protokoll wird auf dem Chip verarbeitet, es ist keine USB-spezifische Firmware-Programmierung erforderlich
- Vollständig integriertes 1.024-Bit-EEPROM zur Speicherung von Gerätedeskriptoren und CBUS-I/O-Konfiguration
- Vollständig integrierte USB-Anschlusswiderstände
- Vollständig integrierte Takterzeugung ohne externen Quarz und optionale Taktausgangswahl für eine kleberfreie Schnittstelle zu externer MCU oder FPGA
- Datenübertragungsraten von 300 Baud bis 3 Mbaud (RS422, RS485, RS232) bei TTL-Pegeln
- 128 Byte Empfangspuffer und 256 Byte Sendepuffer mit Pufferglättungstechnologie für hohen Datendurchsatz
- Mit den lizenzfreien Virtual Com Port (VCP)- und Direct (D2XX)-Treibern von FTDI entfällt in den meisten Fällen die Notwendigkeit der USB-Treiberentwicklung
- Einzigartige USB-FTDIChip-ID™-Funktion
- Konfigurierbare CBUS-I/O-Pins
- Senden und empfangen von LED-Treibersignalen
- UART-Schnittstellenunterstützung für 7 oder 8 Datenbits, 1 oder 2 Stop-Bits und ungerade/gerade/Marke/Leerstelle/keine Parität
- Synchrone und asynchrone Bit-Bang-Schnittstellenoptionen mit RD#- und WR#-Strobes
- FIFO-Empfangs- und Sendepuffer für hohen Datendurchsatz
- Das Bauteil wird mit einer einzigartigen USB-Seriennummer vorprogrammiert geliefert
- Unterstützt busbetriebene, eigenständig betriebene und busbetriebene Hochleistungs-USB-Konfigurationen
- Integrierter +3,3-V-Pegelwandler für USB-I/O
- Integrierter Pegelwandler auf UART und CBUS zur Verbindung zwischen +1,8-V- und +5-V-Logikschaltung
- Echter CMOS-Antriebsausgang von 5 V/3,3 V/2,8 V/1,8 V und TTL-Eingang
- Konfigurierbare I/O-Pin-Ausgangsantriebskraft
- Integrierte Einschalt-Reset-Schaltung
- Vollständig integrierte AVCC-Versorgungsfilterung – keine externe Filterung erforderlich
- Optionale UART-Signalinvertierung
- Einzelversorgungsbetrieb: +3,3 V bis +5,25 V
- Niedriger Betriebs- und USB-Aussetzstrom
- Niedriger USB-Bandbreitenverbrauch
- Kompatibel mit UHCI/OHCI/EHCI-Host-Controller
- Kompatibel mit USB 2.0 Full Speed
- Erweiterter Betriebstemperaturbereich von -40 °C bis 85 °C)
- Erhältlich in kompakten bleifreien 28-Pin-SSOP- und QFN-32-Gehäusen (beide RoHS-konform)
Applikationen
- USB-zu-RS232/RS422/RS485-Wandler
- Aktualisierung älterer Peripherie auf USB
- USB-Datenübertragungskabel und -Schnittstellen für Mobilfunk- und kabellose Telefone
- Verbindung von MCU-/PLD-/FPGA-basierten Designs zu USB
- USB-Audio und Videodatenübertragung mit geringer Bandbreite
- PDA-zu-USB-Datenübertragung
- USB-Smartcard-Lesegeräte
- USB-Messgeräte
- USB-Industriesteuerung
- USB-MP3-Player-Schnittstelle
- USB FLASH-Kartenleser und -Schreiber
- Set-Top-Box-PC – USB-Schnittstelle
- USB-Digitalkameraschnittstelle
- USB-Hardwaremodems
- Drahtlose USB-Modems
- USB-Barcode-Leser
- USB-Software- und Hardware-Verschlüsselungsdongles
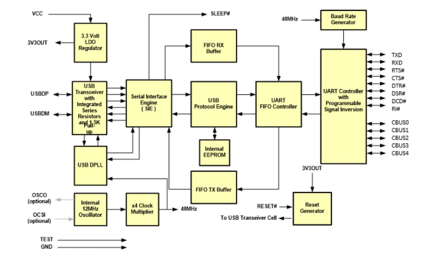
Blockdiagramm
Veröffentlichungsdatum: 2022-10-10
| Aktualisiert: 2022-10-20
